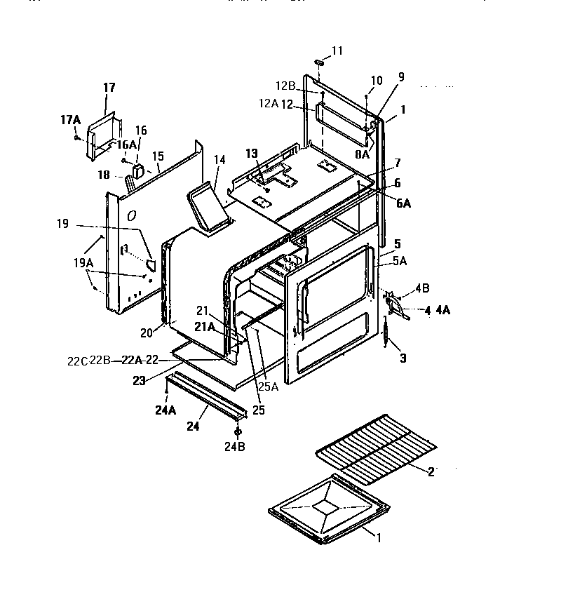
GF501HXV1 05 – BODY, SIDE PANELSadmin2025-04-26T08:56:53+00:00GF501HXV1 05 – BODY, SIDE PANELS ProductsPositionProduct1WCI Q3019702WCI AP3010423WCI AP3390534B5304500008 Frigidaire Oven Screw4A318348801 Frigidaire Oven Left Side Door Hinge4WCI A960680005AWCI AP3260505WCI Q3018346SUPPORT-CONTROL PNL7WCI Q3100578BODY PANEL, FR AV9WCI Q31008410WCI AP17200211WCI Q30183112AHEAT SHIELD, LH (NON-ILLUSTRATED)12HEAT SHIELD-RH13WCI AP07400114WCI A9204900015WCI A508500016WCI Q30195017WCI Q31007718WCI Q31000319WCI A7406000020WCI Q13423421AWCI AP39102121WCI AP05104522WCI Q30197222COVEN WRAPPER PANELS, BACK22BOVEN WRAPPER PANELS, TOP22AWCI Q30197123PANEL, BOTTOM24BWCI AP05900924BASE RAIL25AWCI AP05105625SUPPORT, BTM