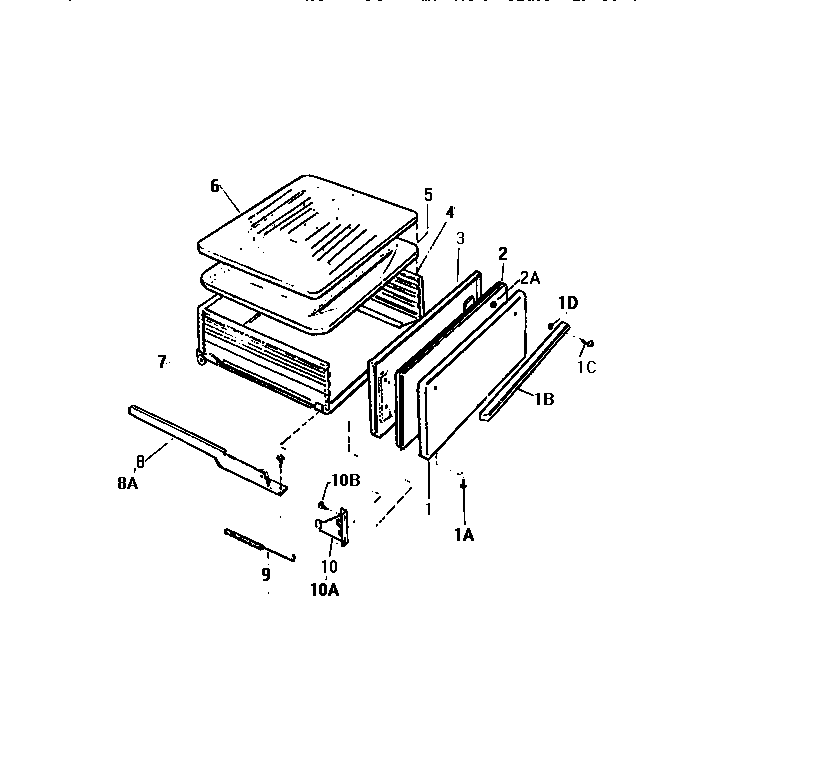
GF521HXF1 07 – BROILER DRAWER