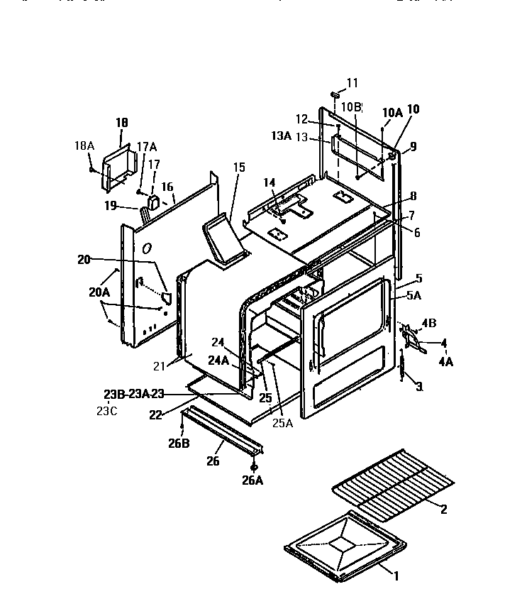
GF620HXV0 05 – BODY, SIDE PANELSadmin2025-04-26T08:56:50+00:00GF620HXV0 05 – BODY, SIDE PANELS ProductsPositionProduct1WCI Q3019772WCI AP3010463WCI AP3390384B5304500008 Frigidaire Oven Screw4A318348801 Frigidaire Oven Left Side Door Hinge4WCI A960680005WCI Q3019675AWCI AP3260527WCI A740760008WCI Q3019689BODY PANEL, FR AV10WCI Q31008410AWCI AP17200211WCI Q30183113HEAT SHIELD-RH13AHEAT SHIELD, LH (NON-ILLUSTRATED)14WCI AP07400115WCI A9204900016WCI A508700017WCI Q30195018COVER, MODULE19WCI Q31000320WCI A7406000021WCI Q13423422PANEL, BOTTOM23WCI Q30197123CWCI Q30197423BWCI Q30197323AWCI Q30197224WCI AP05104524AWCI AP39102125SUPPORT, BTM26BASE RAIL26AWCI AP05900926BWCI AP051056