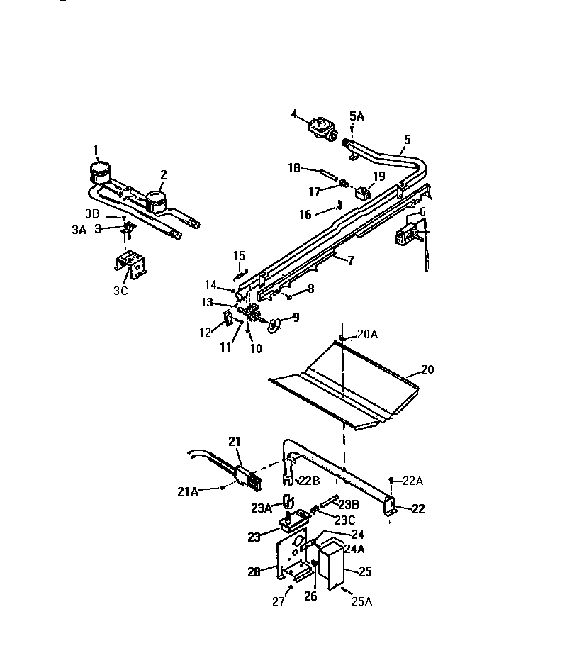
GF620HXW0 04 – BURNER ASSEMBLYadmin2025-04-26T08:57:31+00:00GF620HXW0 04 – BURNER ASSEMBLY ProductsPositionProduct1WCI Q3018653CWCI Q3018663WCI Q3018613AWCI Q30186445308007974 Frigidaire Pressure Regulator5WCI Q3018556WCI Q3018587WCI Q3018578WCI Q3018399WCI A2200200010WCI Q31000211SCREW12WCI Q30187413WCI Q30187314NUT15WCI Q30186916CLIP, CAP. TUBE17BUT - 3/8 LOXIT19VALVE20AWING NUT20WCI A9010000215303935066 Frigidaire Oven Flat Igniter 17" Leads21ASCREW22BURNER22BSCREW23ASHUTTER23BWCI Q30186723CNUT23WCI Q30187124TERMINAL BLOCK25AWCI AP05105625VALVE COVER26WCI AP07400127WCI AP26500828SUPPORT