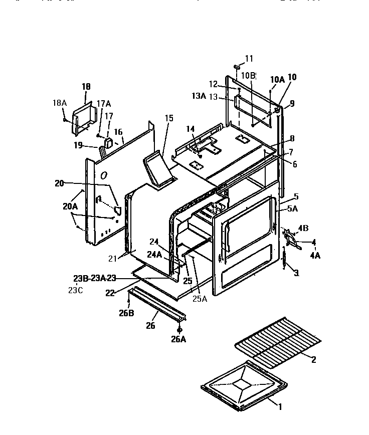
GF620HXW0 05 – BODY, SIDE PANELS