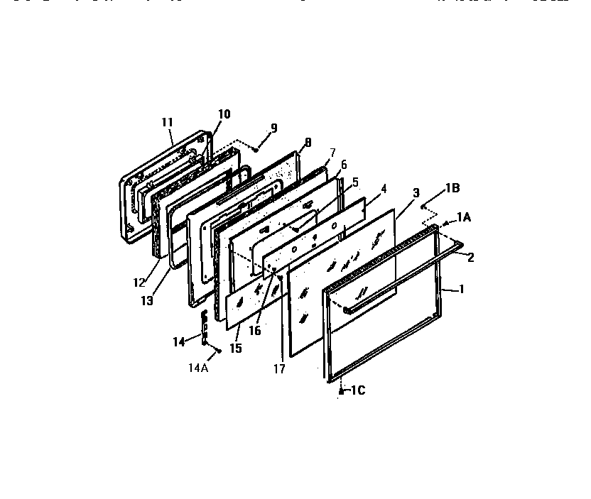
GF790HXD0 06 – DOORadmin2025-04-26T09:23:15+00:00GF790HXD0 06 – DOOR ProductsPositionProduct1A134156200 Frigidaire Screw1BWCI AP0570251CWCI AP0530331WCI Q3100362WCI Q3100373WCI Q3100934WCI Q3100925WCI Q3100916WCI Q3100907WCI Q3100338WCI Q3100899WCI AP05105610WCI Q31009711WCI Q31008812WCI Q31003213SEAL, DOOR14WCI Q31009614AWCI AP05105315WCI Q31009516WCI Q31003417WCI Q310094