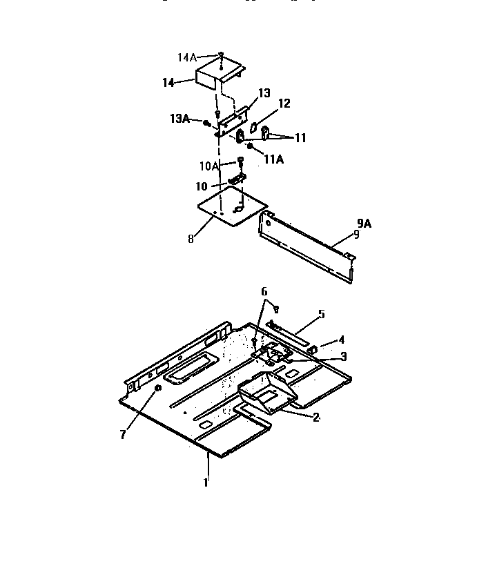
GF790HXH1 05 – BURNER PANELadmin2025-04-26T09:25:06+00:00GF790HXH1 05 – BURNER PANEL ProductsPositionProduct1WCI Q3019042SUPPORT, LATCH3LATCH, OVEN DOOR4KNOB5WCI Q3019137WCI AP0740018COVER, LATCH9AHEAT SHIELD, LH (NON-ILLUSTRATED)9HEAT SHIELD-RH10AWCI Q30183910WCI A200100011SWITCH, MICRO11ANUT12INSULATOR13BRACKET13ASCREW14WCI Q30191214AWCI AP051056