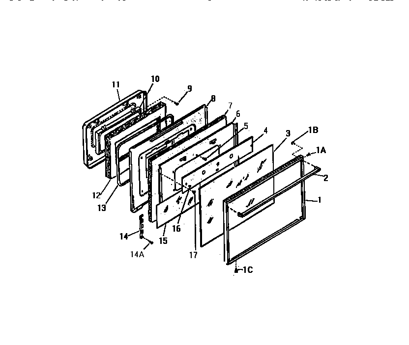
GF790HXV0 06 – DOOR