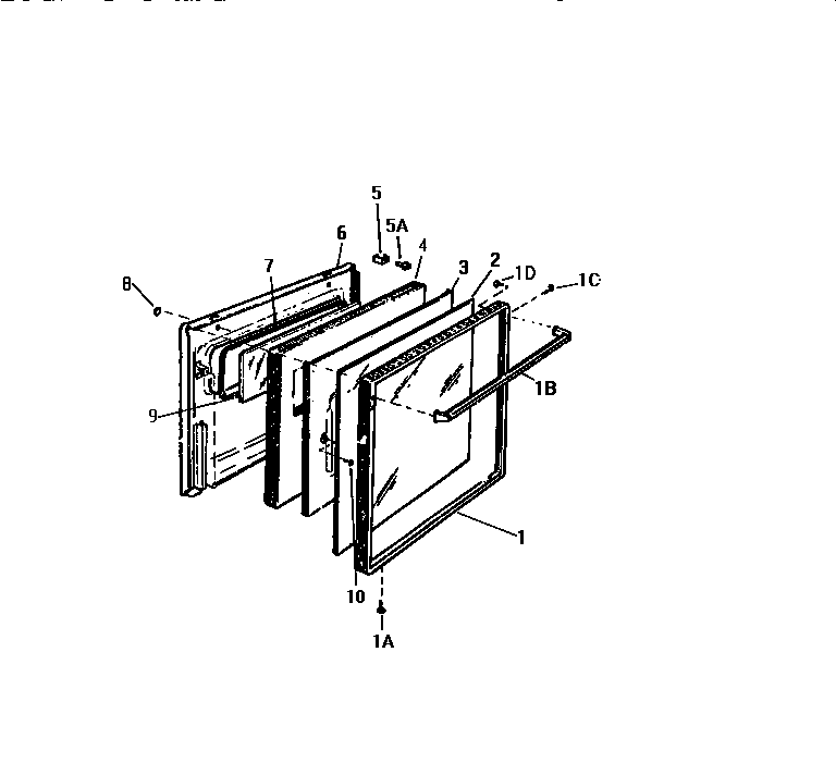
GF830HXV3 06 – DOORadmin2025-04-26T09:25:52+00:00GF830HXV3 06 – DOOR ProductsPositionProduct1C134156200 Frigidaire Screw1BWCI Q3019351WCI Q3019381AWCI AP0530331DWCI AP0570252WCI Q3019343SHIELD4INSULATION5WCI Q3019365AWCI Q3019376WCI Q3019307SEAL8WCI AP0750199WCI AP16123010BOLT