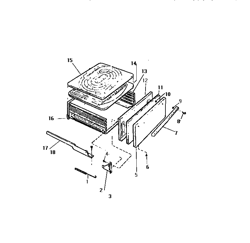
GF970HXD1 07 – BROILER DRAWERadmin2025-04-26T09:27:23+00:00GF970HXD1 07 – BROILER DRAWER ProductsPositionProduct1SPRING2HINGE-LH3HINGE-RH5WCI A983490056WCI AP0510567WCI Q30188485303292012 Frigidaire Oven Screw9WCI Q6166410WCI AP26500811WCI Q13882912WCI Q30188213WCI Q30188114WCI A5300200015WCI A4300100016WCI AP03100417WCI A960700018WCI A96069000