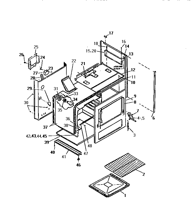
GF970HXH1 05 – BODY