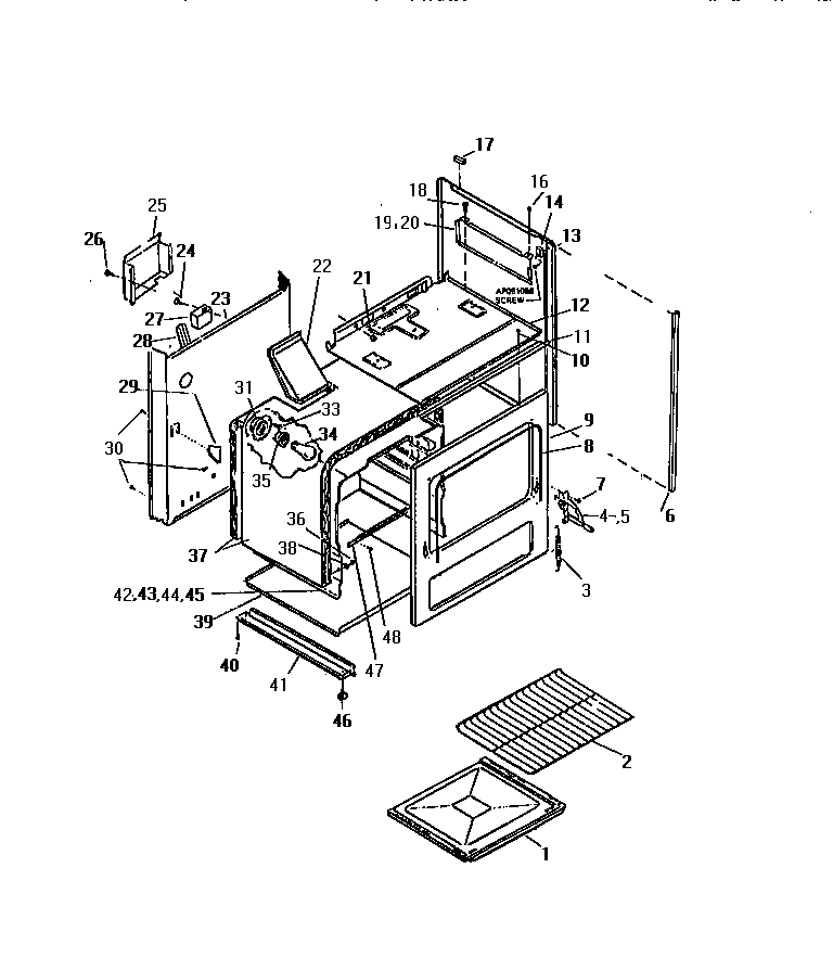
GF970HXV0 05 – BODY