| 1 | WCI Q301977 |
| 2 | WCI AP301046 |
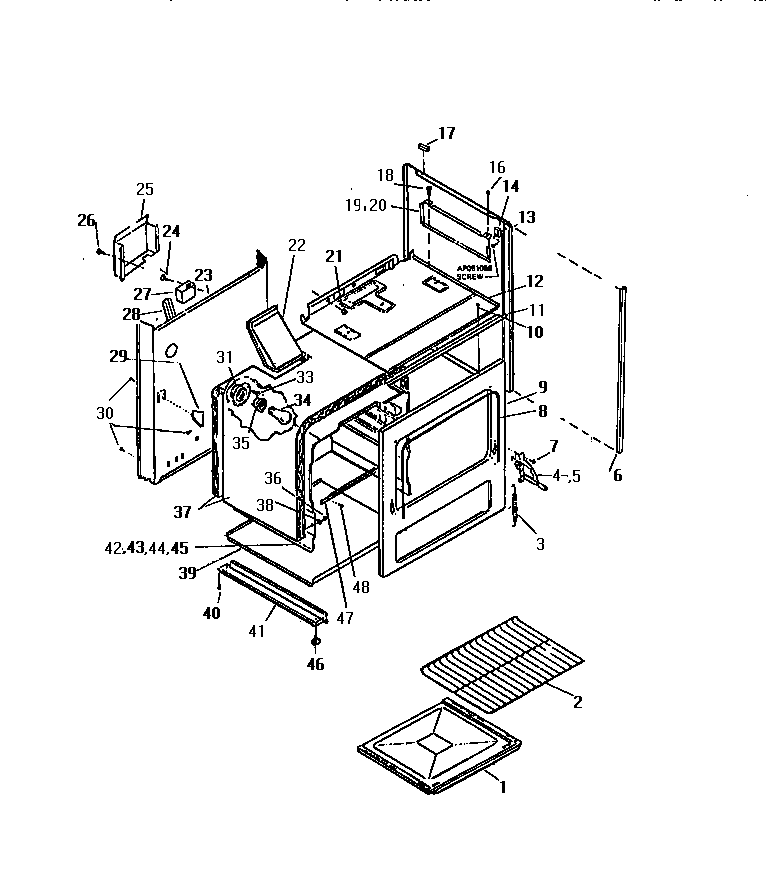
| 3 | SPRING |
| 4 | WCI A96068000 |
| 5 | 318348801 Frigidaire Oven Left Side Door Hinge |
| 6 | WCI Q310079 |
| 7 | 5304500008 Frigidaire Oven Screw |
| 8 | WCI AP326052 |
| 9 | WCI Q301967 |
| 11 | WCI A74076000 |
| 12 | WCI Q301107 |
| 13 | BODY PANEL, FR AV |
| 14 | WCI Q310084 |
| 16 | WCI AP172002 |
| 17 | WCI Q301831 |
| 19 | HEAT SHIELD-RH |
| 20 | HEAT SHIELD, LH (NON-ILLUSTRATED) |
| 21 | WCI AP074001 |
| 22 | WCI A92049000 |
| 23 | WCI A5087000 |
| 25 | COVER, MODULE |
| 27 | WCI Q301950 |
| 28 | WCI Q310003 |
| 29 | WCI A7406000 |
| 31 | WCI Q310063 |
| 34 | WCI Q63749 |
| 35 | WCI Q310061 |
| 36 | WCI AP051045 |
| 37 | WCI Q134234 |
| 38 | WCI AP391021 |
| 39 | PANEL, BOTTOM |
| 41 | BASE RAIL |
| 42 | WCI Q301979 |
| 43 | WCI Q301980 |
| 44 | WCI Q301981 |
| 45 | WCI Q310062 |
| 46 | LEVELING LEG |
| 47 | SUPPORT, BTM |
| 48 | WCI AP051056 |