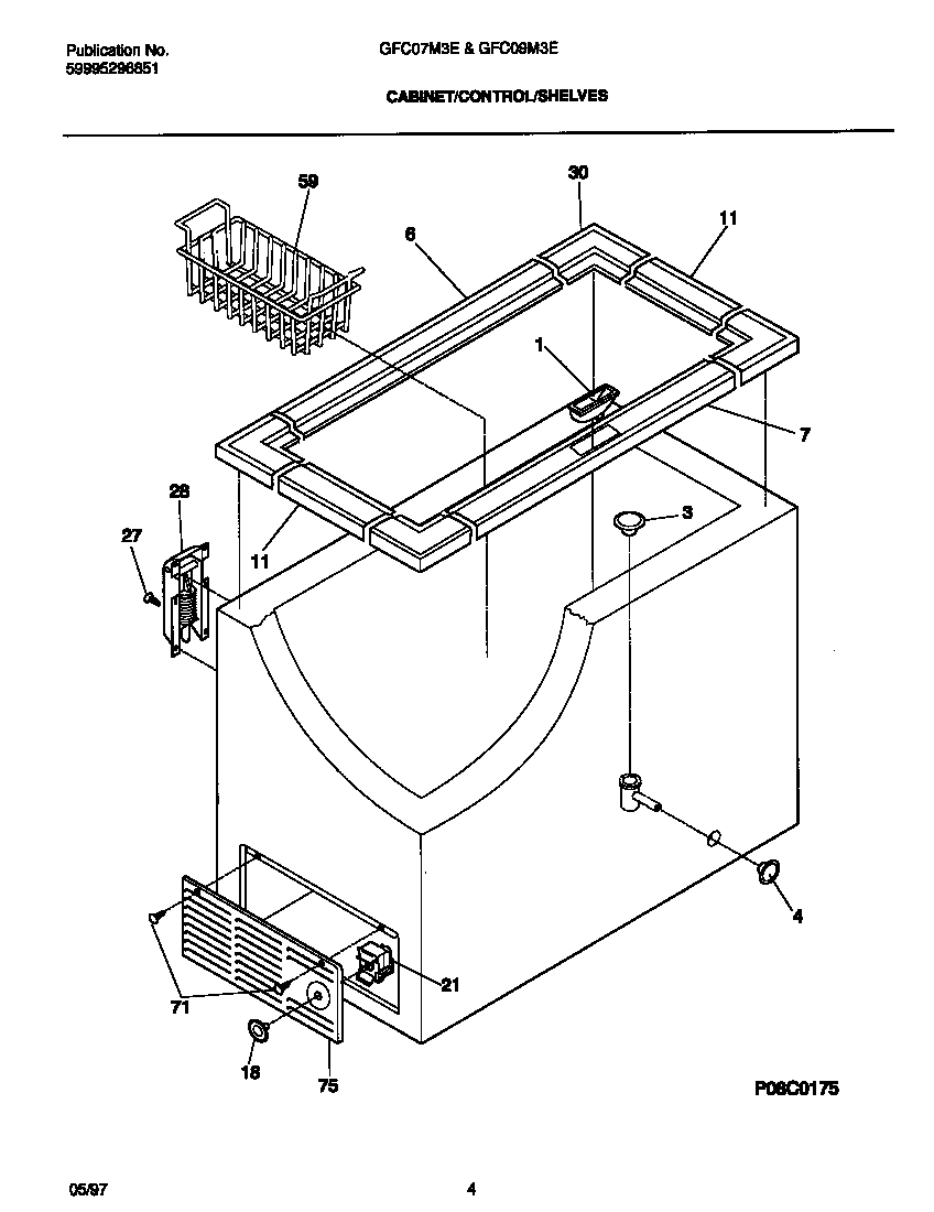
GFC09M3EW2 03 – CABINET/CONTROL/SHELVESadmin2025-04-26T09:25:26+00:00GFC09M3EW2 03 – CABINET/CONTROL/SHELVES ProductsPositionProduct*027615303321319 Frigidaire Refrigerator White Touch Up Paint1CATCH-LOCK4WCI 2160739006WCI 2161175007WCI 21611760011WCI 21610560018WCI 21603450521WCI 21635680027216337701 Frigidaire Refrigerator Screw28WCI 21647880030WCI 21610550059216848200 Frigidaire Refrigerator Basket71131168200 Frigidaire Dryer Screw75WCI 216329402