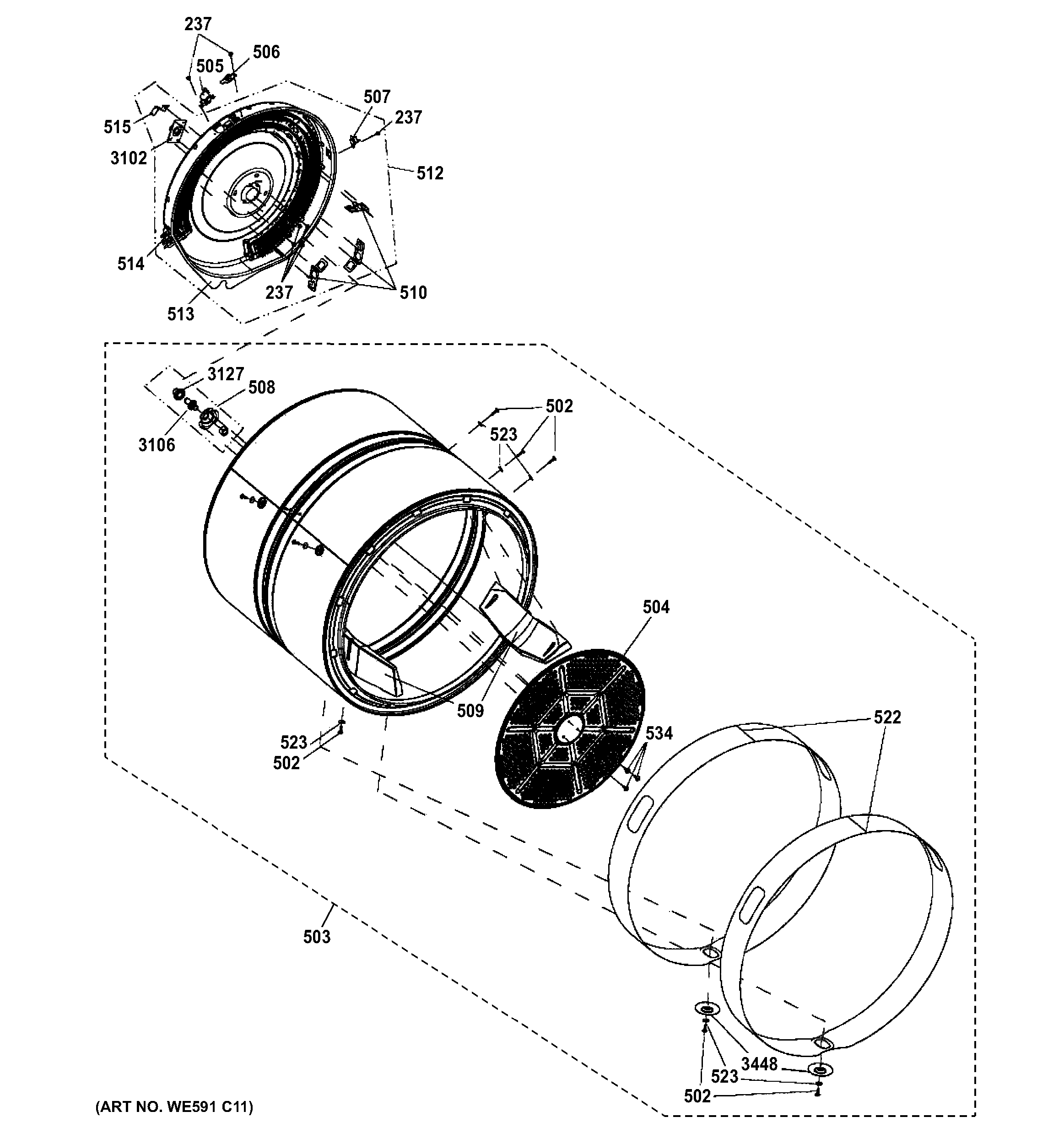
| 237 | WD02X10057 GE Dishwasher Screw 10-16 x 1 |
| 502 | WE2M174 GE Screw #10 |
| 503 | GEN WE21M37 |
| 504 | WE11X29438 GE Washer Drum Mounting Hub |
| 505 | WE4M160 GE Dryer Thermostat |
| 506 | WE4M398 GE Dryer Inlet Control Thermostat |
| 507 | GEN WE4M137? |
| 508 | SHAFT & BRACKET ASS'Y |
| 509 | SHAFT AND BRACKET ASM |
| 510 | WE1M780 GE Washer Protection Bracket |
| 512 | WE11X20088 GE Heater Assembly and Housing |
| 513 | WE11M10002 GE Heater Housing |
| 514 | DRYER HEATER ELEMENT W/MICA |
| 515 | WE1M1015 GE Ground Strap Assembly |
| 522 | DRUM BAND |
| 523 | WE2M176 GE Washer Insulated |
| 534 | WE2M163 GE Washer Screw |
| 3102 | WE1M300 GE Dryer Bearing Bracket |
| 3106 | WE1M462 GE Dryer Rear Drum Bearing Sleeve |
| 3127 | WE1M461 GE Washer O-Ring |
| 3448 | WASHER DAMP. BAND |