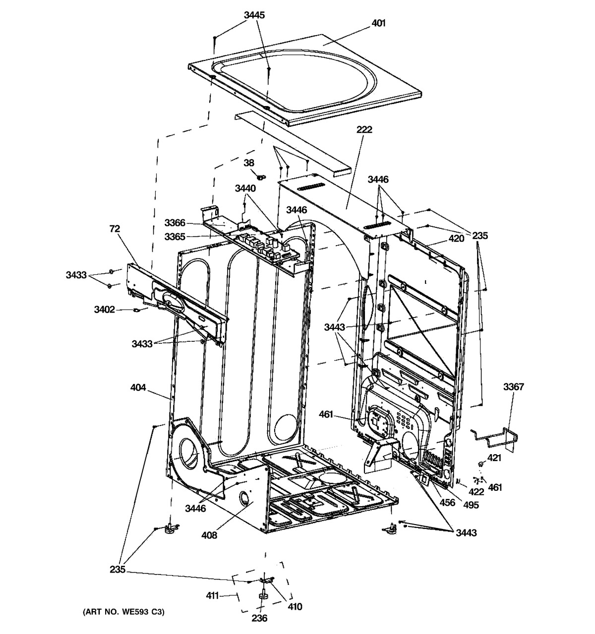
GFDN245GL0BB CABINET & TOP PANELadmin2025-04-26T10:29:23+00:00GFDN245GL0BB CABINET & TOP PANEL ProductsPositionProduct38WD21X10024 GE Dryer Model Selector Connector72GEN WE1M926222WE1M585 GE Rear Plate235WE2X263D GE Screw Package 12 C92236WE1M642 GE Washer Leveling Leg401GEN WE20M450401GEN WE20M452401GEN WE20M455401GEN WE20M448401GEN WE20M445404GEN WE20M446404WE20M400 GE White Side Panel404GEN WE20M10002404GEN WE20M10001404GEN WE20M453408WE20M429 GE Dryer Bottom Chassis410WE1M528 GE Level Leg Rear Bracket411WE1M468 GE Leveling Screw Bracket420PANEL REAR 6 CU FT421WE26M345 GE Gas Power Cord (120V)422CLIP CORDSET456WE1X617 GE Pipe Clamp461WZ5X158D GE Screw Package of 12495WE1M933 GE Dryer Water Valve Shield3365WE4M511 GE Main Power Board Assembly3366WE1M864 GE Main Power Board3367GEN WE1M5873402ENCLOSED SCREW GROMMET3433WE2M278 GE Screw 8-18 AB PNQ2 1/4 S Z3440WE2M173 GE Screw3443WE1M280 GE Screw3445WE02X25454 GE Screw 10-16 A TRQ2 1-1/4 S3446WE2M223 GE Screw