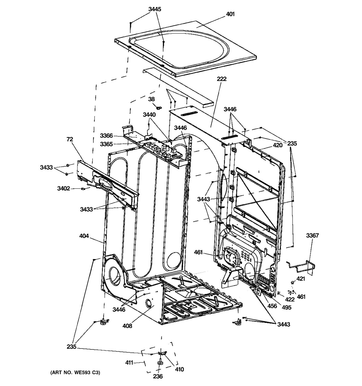
GFDN245GL0MS CABINET & TOP PANEL