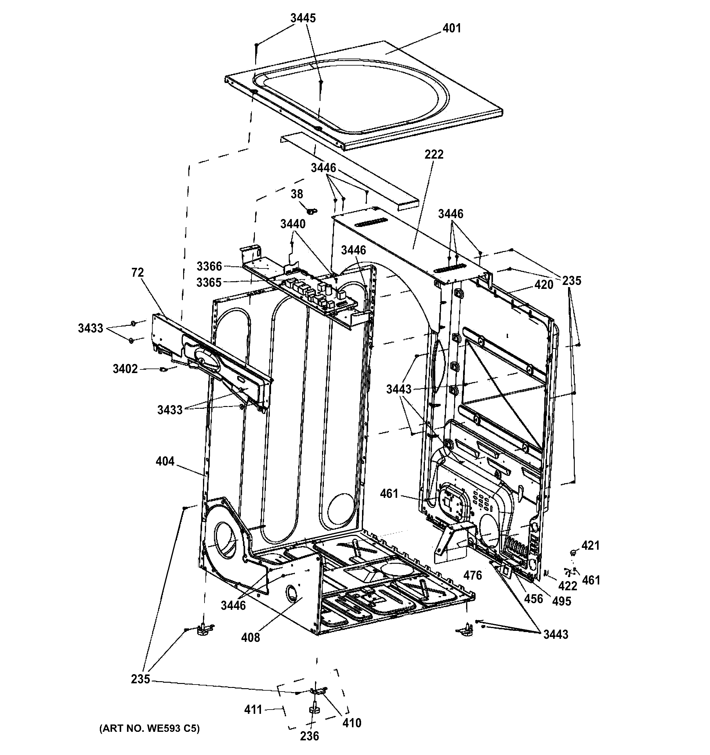
GFDN245GL1MS CABINET & TOP PANEL