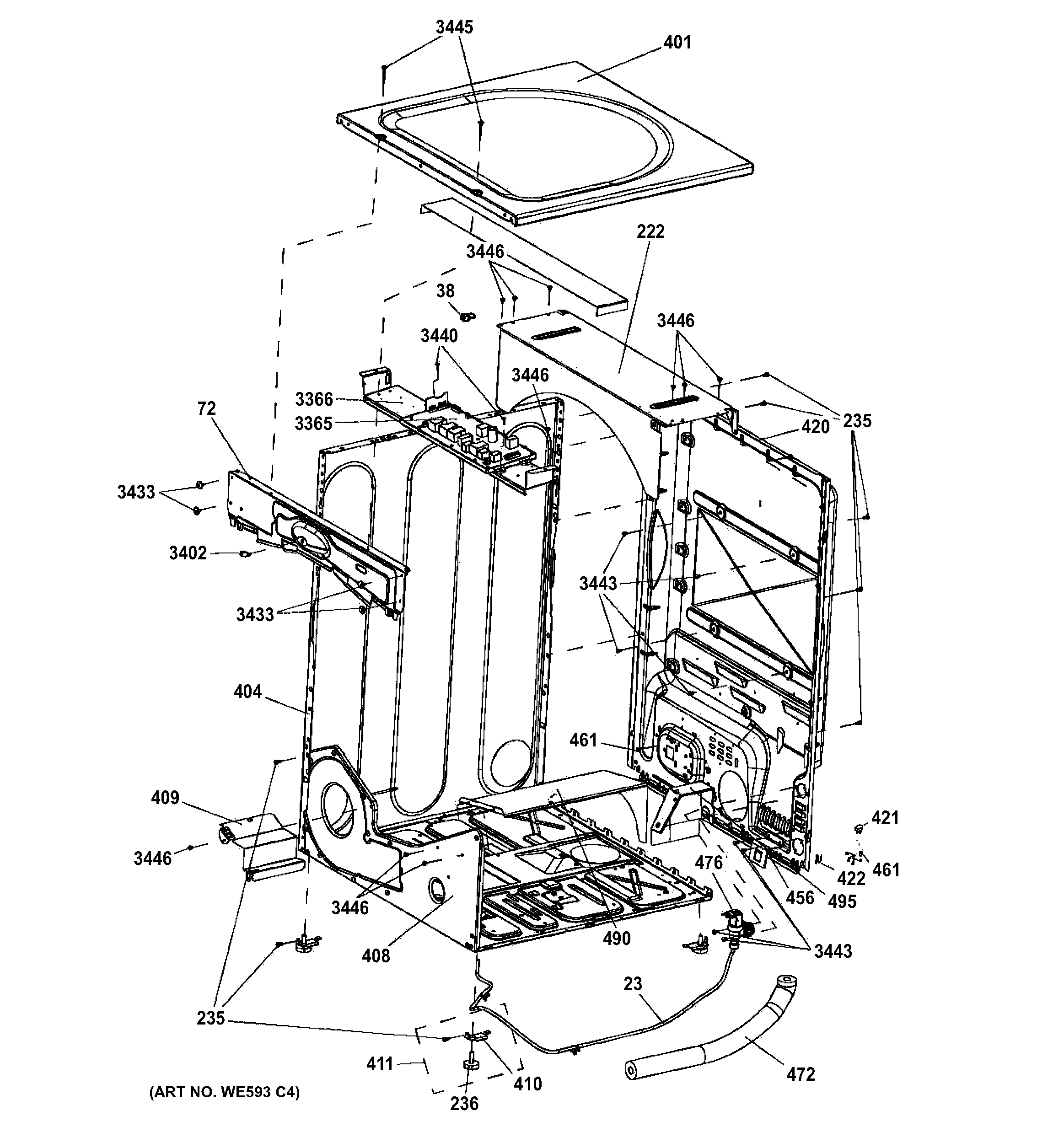
GFDS355GL1MG CABINET & TOP PANELadmin2025-04-26T10:35:31+00:00GFDS355GL1MG CABINET & TOP PANEL ProductsPositionProduct23TUBE WATER FRONT38GEN WD21X1003072GEN WE1M926222GEN WE20M476235WE2X263D GE Screw Package 12 C92236WE1M642 GE Washer Leveling Leg401GEN WE20M450404GEN WE20M10002408WE20M429 GE Dryer Bottom Chassis409SHIELD THERMOSTAT410WE1M528 GE Level Leg Rear Bracket411WE1M468 GE Leveling Screw Bracket420WE20M381 GE Rear Panel 7.5 CF421WE26M345 GE Gas Power Cord (120V)422CLIP CORDSET456WE1X617 GE Pipe Clamp461WZ5X158D GE Screw Package of 12472WE1M948 GE Dryer Water Tube Sleeve476WE4M503 GE Water Valve490SHIELD-GAS VALVE495WE1M933 GE Dryer Water Valve Shield3365WE4M511 GE Main Power Board Assembly3366WE1M864 GE Main Power Board3402ENCLOSED SCREW GROMMET3433WE2M278 GE Screw 8-18 AB PNQ2 1/4 S Z3440WE2M173 GE Screw3443WE1M280 GE Screw3445WE02X25454 GE Screw 10-16 A TRQ2 1-1/4 S3446WE2M223 GE Screw