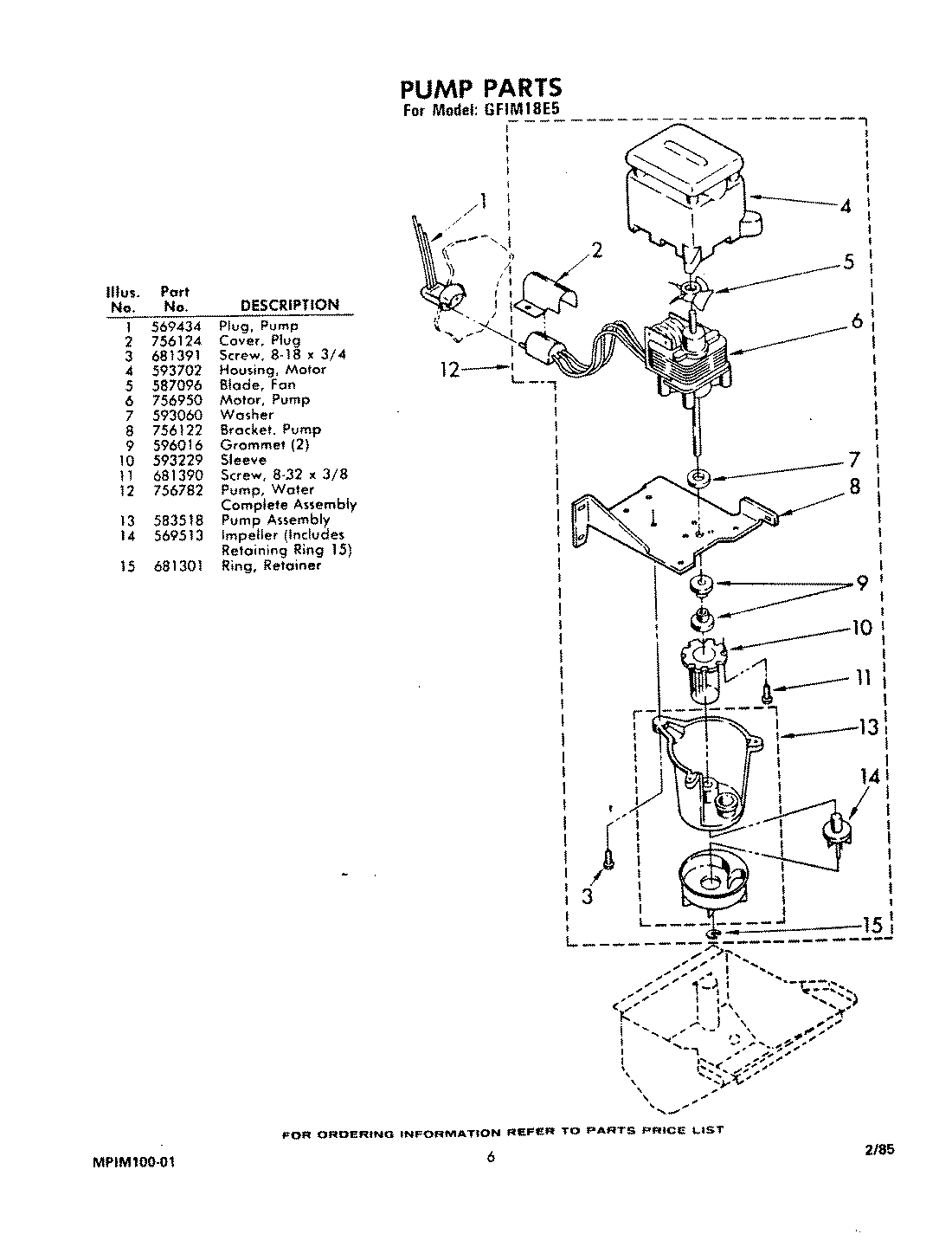
GFIM18E5 04 – PUMP