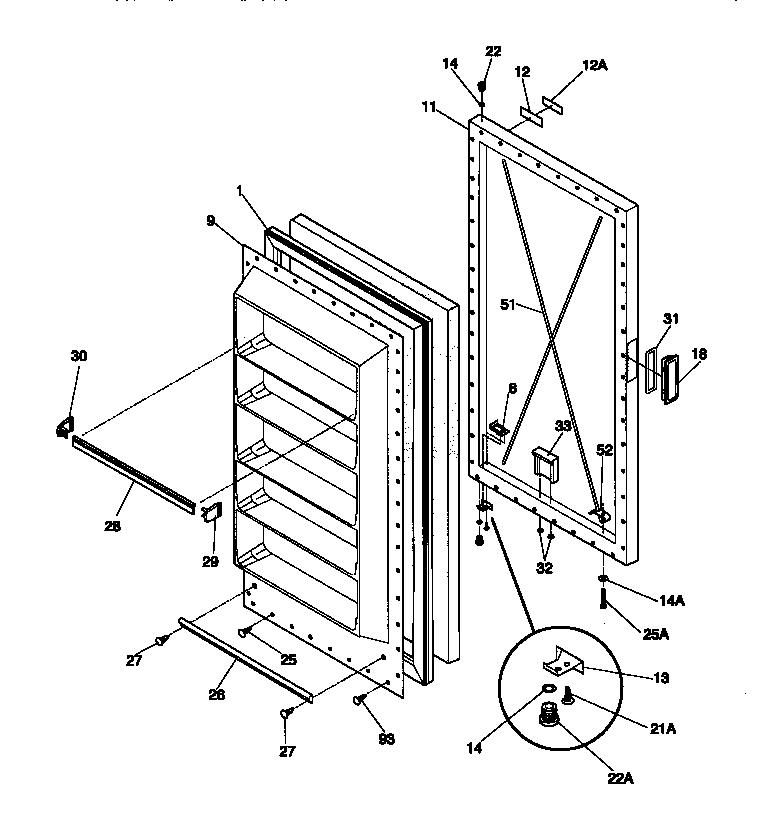
| *18440 | INSULATION |
| 1 | GASKET DOOR |
| 8 | WCI 5300091170 |
| 9 | PANEL-INNER DOOR |
| 11 | WCI 216011303 |
| 12 | BEZEL, NAMEPLATE |
| 12 | INSERT-BEZEL |
| 13 | DOOR STOP |
| 14 | WCI 5303313518 |
| 14 | WCI 5303307087 |
| 18 | WCI 216140200 |
| 21 | Screw,door stop mtg ,4.0 x 0.7-19.7 ,flat hd,metric |
| 22 | 297006800 Frigidaire Refrigerator Bearing Hinge |
| 22 | WCI 5303925197 |
| 25 | WCI 216365400 |
| 25 | WCI 216022800 |
| 26 | WCI 5303300817 |
| 27 | 5303212828 Frigidaire Refrigerator Primary Clip |
| 28 | SHELF FRONT NARROW (4) |
| 29 | 216334000 Frigidaire Refrigerator End Cap |
| 30 | 216334100 Frigidaire Refrigerator End Cap |
| 31 | GASKET, WHITE |
| 32 | Valve,breather ,door base |
| 33 | WCI 5303212700 |
| 51 | WCI 5303286877 |
| 52 | WCI 05879859 |
| 93 | 216858001 Frigidaire Refrigerator Screw |