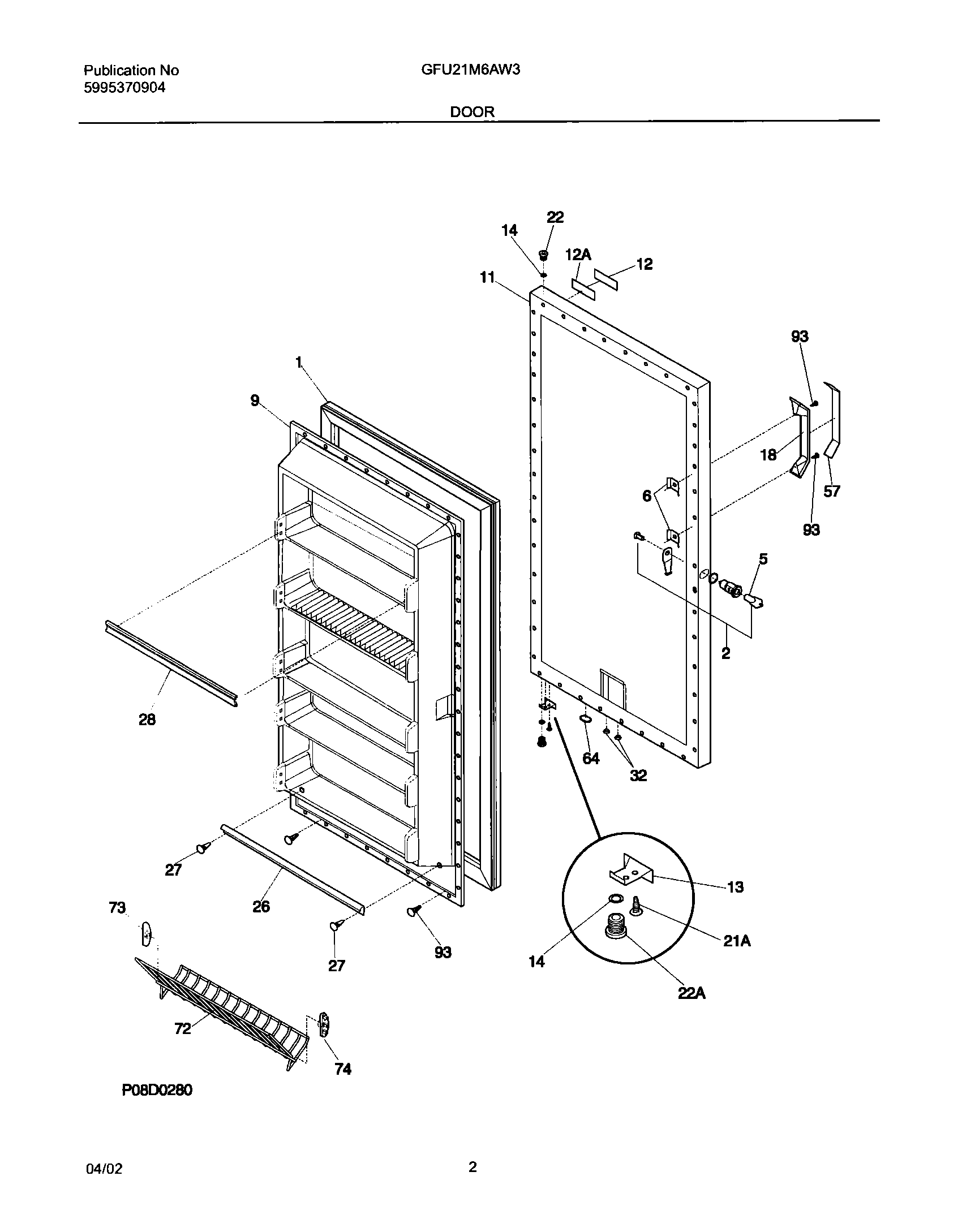
GFU21M6AW3 03 – DOOR