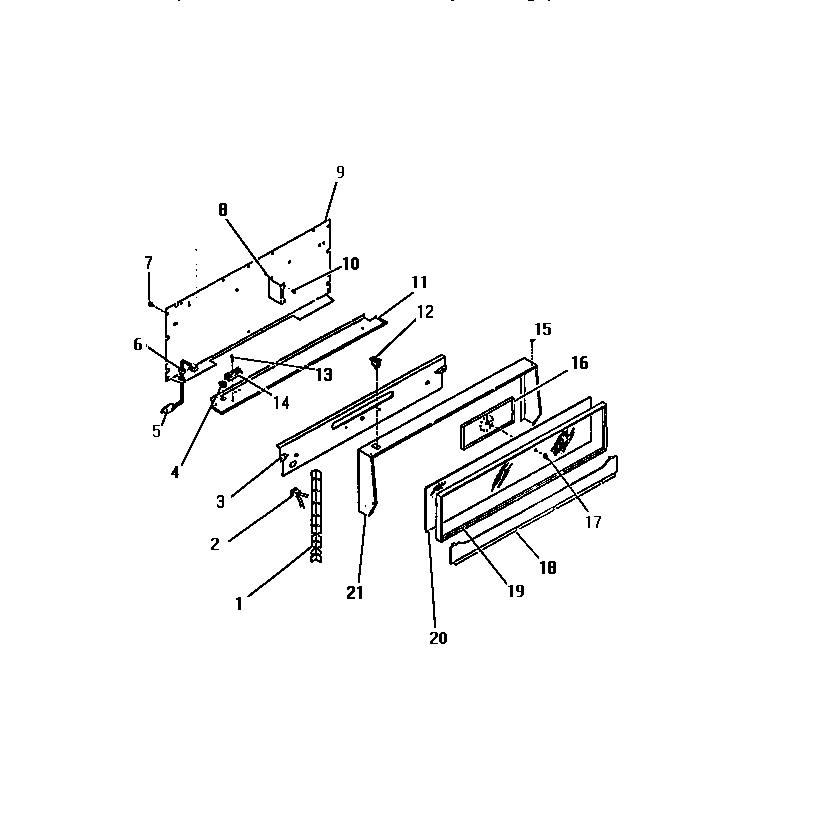
GG26CL0 07 – CONSOLE, PANELSadmin2025-04-26T09:28:46+00:00GG26CL0 07 – CONSOLE, PANELS ProductsPositionProduct1WCI 80132962WCI 80140703WCI 80140854WCI 80080095WCI 80140736WCI 80082557WCI 80114358WCI 80141409WCI 801413910WCI 800792511WCI 801408212WCI 800806013WCI 800807214WCI 800807115WCI 800806116COOK-MASTER AND TIME SIGNAL17WCI 801388818WCI 801408619WCI 801408120GLASS-CONSOLE21WCI 8014083