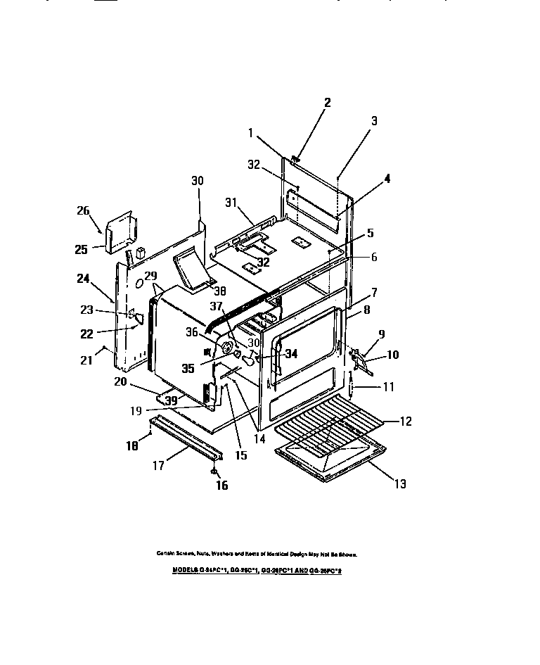
GG26PCW2 22 – INTERIOR OVEN, PANELS, FRAMEadmin2025-04-26T09:32:19+00:00GG26PCW2 22 – INTERIOR OVEN, PANELS, FRAME ProductsPositionProduct1WCI 80140182WCI 80138783WCI 80080124AWCI 80115524WCI 80080186WCI 80140247WCI 80139168WCI 80140609WCI 800802510WCI 800802310AWCI 800802411WCI 801148412WCI 801391313WCI 801397015WCI 800803716WCI 800804117WCI 801161219WCI 800803820WCI 801398923WCI 800804225WCI 800835730WCI 801394431WCI 801406332WCI 800790534WCI 800803635WCI 801456336WCI 801455737SCREW38WCI 801165139WCI 801397539BWCI 801398439AWCI 801397639CWCI 8014565