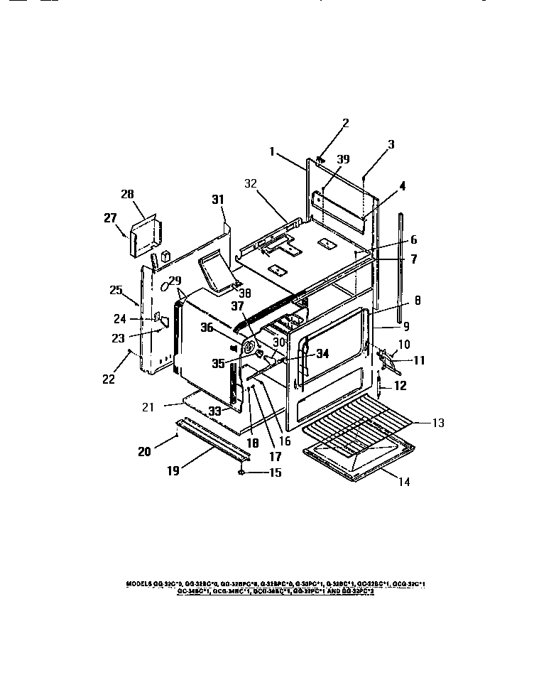
GG32BCL0 23 – INTERIOR OVEN, PANELS, FRAME