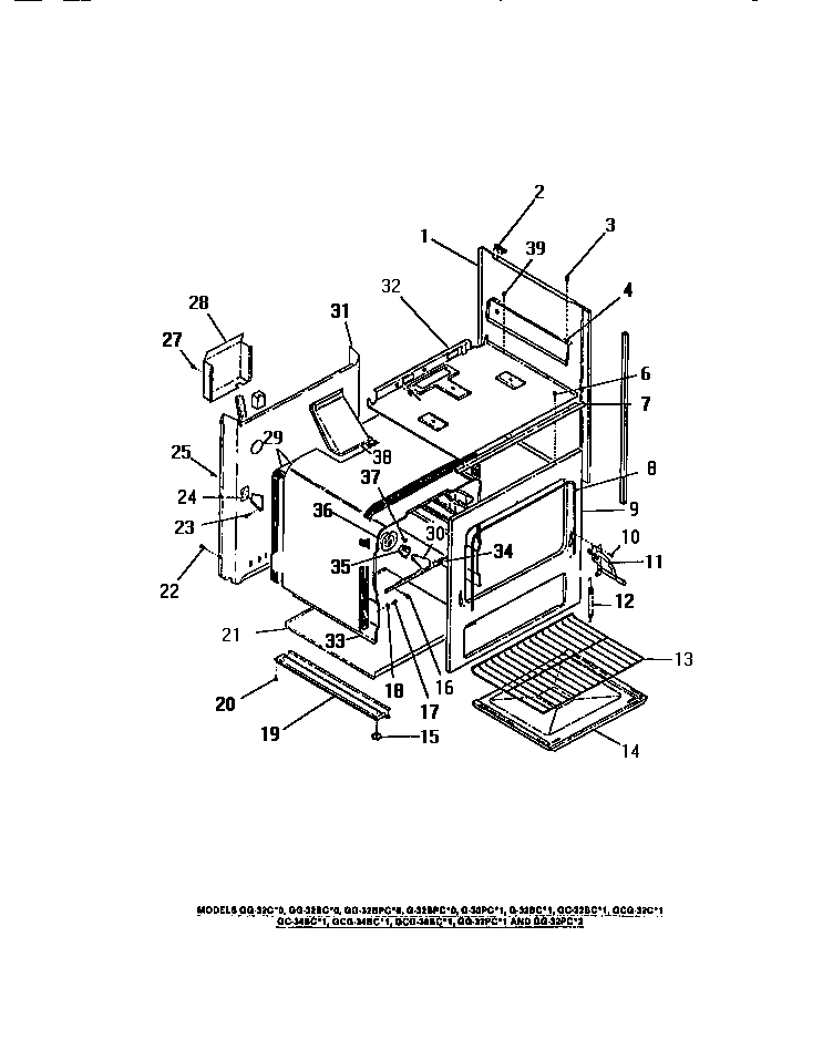
GG32BCW0 23 – INTERIOR OVEN, PANELS, FRAME