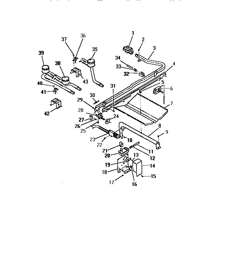
GG32PCL0 32 – BURNERS, IGNITORS, CONTROLSadmin2025-04-26T09:29:38+00:00GG32PCL0 32 – BURNERS, IGNITORS, CONTROLS ProductsPositionProduct1WCI 80079743WCI 80139074WCI 80140225WCI 80079796WCI 80139267WCI 80079808WCI 800941814WCI 800798616BUSHING17WCI 800796018WCI 800798719WCI 800798520VALVE, OVEN21WCI 800801022WCI 800801123IGNITOR, OVEN24CAM, GRIDDLE VALVE (4)24WCI 800800225SCREW (2)26WCI 800800027SWITCH-MICRO28WCI 801391528WCI 801394029WCI 800799130WCI 801392131WCI 801250932SHUT OFF VALVE33WCI 8008363343/8`` TUBE35WCI 801385436IGNITOR-TOP, R.H.38WCI 801385239WCI 801385340WCI 800790541IGNITOR, TOP BURNER, R.H.41WCI 801388442WCI 801400243WCI 8014026