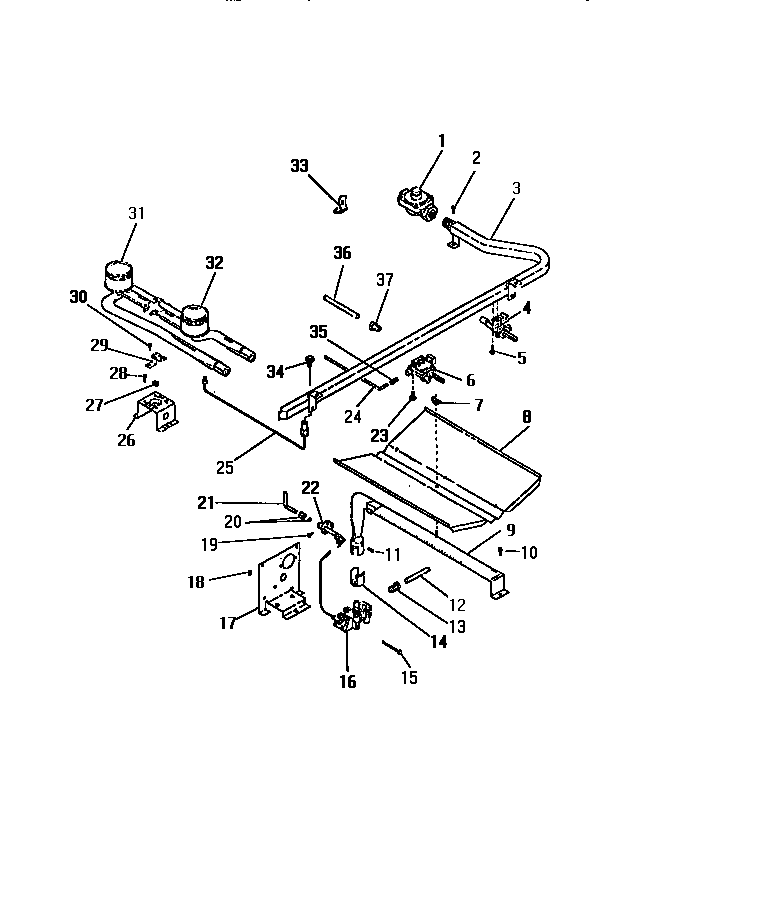
GG32PCW0 29 – BURNERS, IGNITORS, CONTROLS