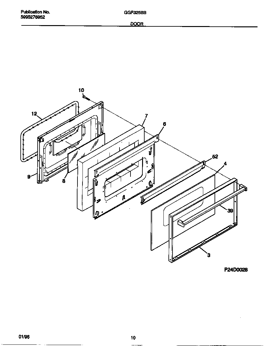
GGF325BBDD 06 – DOOR