| *66368 | SCREW, CR PAN HD SEMS, 8-32BP X 1.00 |
| *66370 | WCI 5303269859 |
| *66369 | 5303300265 Frigidaire Oven Screw |
| *66371 | 5303285179 Frigidaire Oven Door Screw |
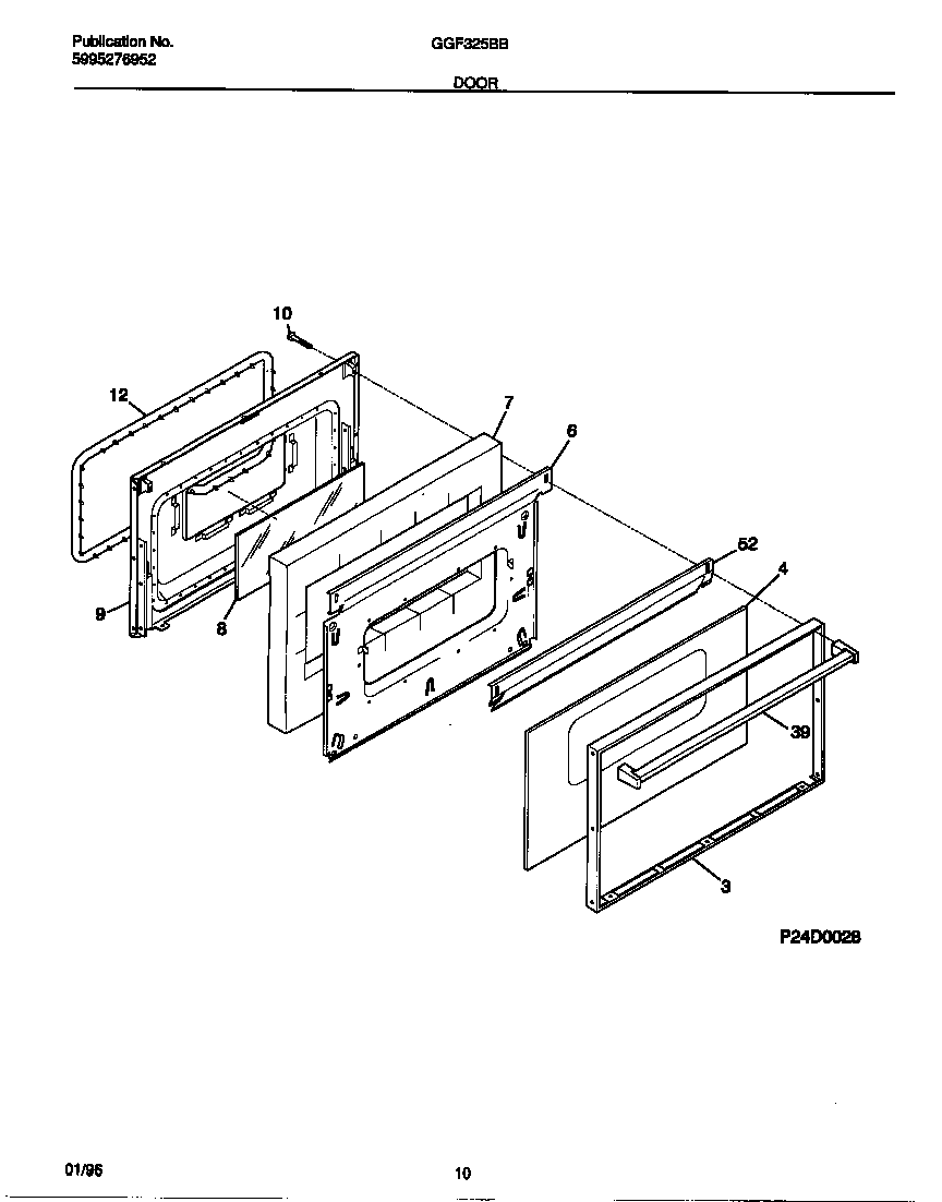
| 3 | WCI 316067802 |
| 4 | WCI 316089000 |
| 6 | WCI 316088403 |
| 7 | WCI 316076401 |
| 8 | GLASS-OVEN DOOR, AIRWASH |
| 9 | WCI 316066610 |
| 10 | WCI 5303280308 |
| 12 | 5303202011 Frigidaire Door Seal |
| 39 | HANDLE |
| 52 | WCI 316081303 |