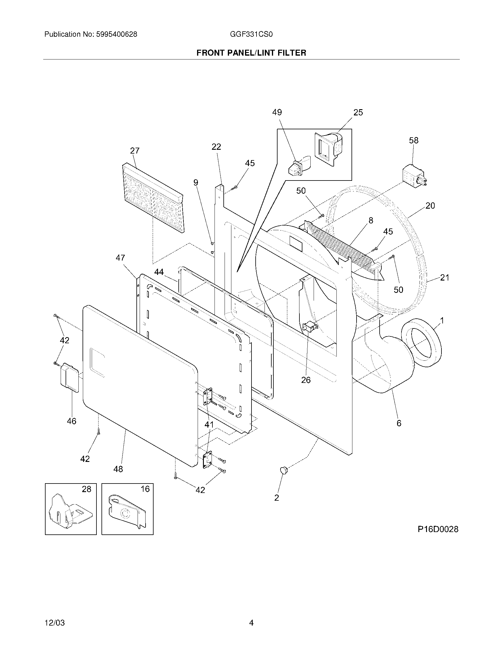
GGF331CS0 05 – FRONT PANEL/LINT FILTERadmin2025-04-26T09:30:44+00:00GGF331CS0 05 – FRONT PANEL/LINT FILTER ProductsPositionProductNI5308027429 Frigidaire Dryer High Temperature AdhesiveNIWCI 131474700NI131843500 Frigidaire Washer Appliance Lamp Light Bulb Assembly1134417000 Frigidaire Seal2131397000 Frigidaire Plug6WCI 1316219008131622202 Frigidaire Dryer Lint Screen Housing Cover9131633200 Frigidaire Plug16WCI 131063700205303937182 Frigidaire Dryer Drum Upper Felt Seal with Adhesive215303937183 Frigidaire Dryer Lower Front Felt Seal22PANEL-FRONT STACK W/LITE25131658800 Frigidaire Dryer Door Catch Repair Kit26134813601 Frigidaire Dryer Door Switch 3-Wire27131450300 Frigidaire Dryer Lint Screen Filter28CLIP GUIDE (4)41134222900 Frigidaire Dryer Door Hinge42134156200 Frigidaire Screw44137551901 Frigidaire Gasket45137361500 Frigidaire Screw 8-18X0.711 Co46131644700 Frigidaire Dryer Door Handle (White)47WCI 13184410448DOOR-OUTER, WHITE495303207102 Frigidaire Door Strike50131302800 Frigidaire Drum Vane Screw