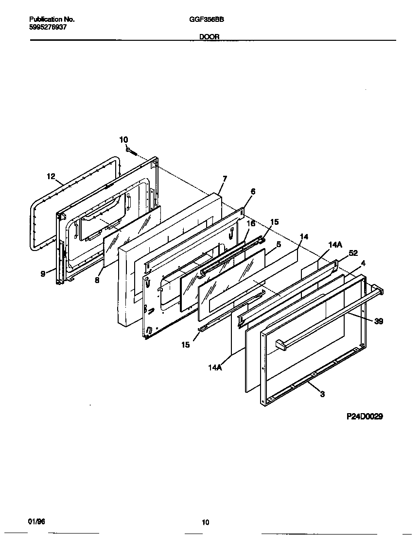
GGF356BBDE 06 – DOOR