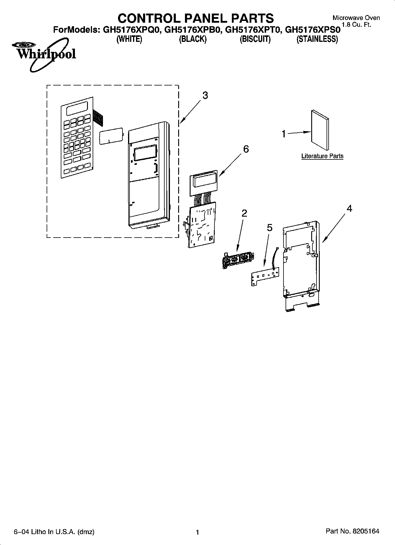
GH5176XPB0 01 – CONTROL PANEL PARTS