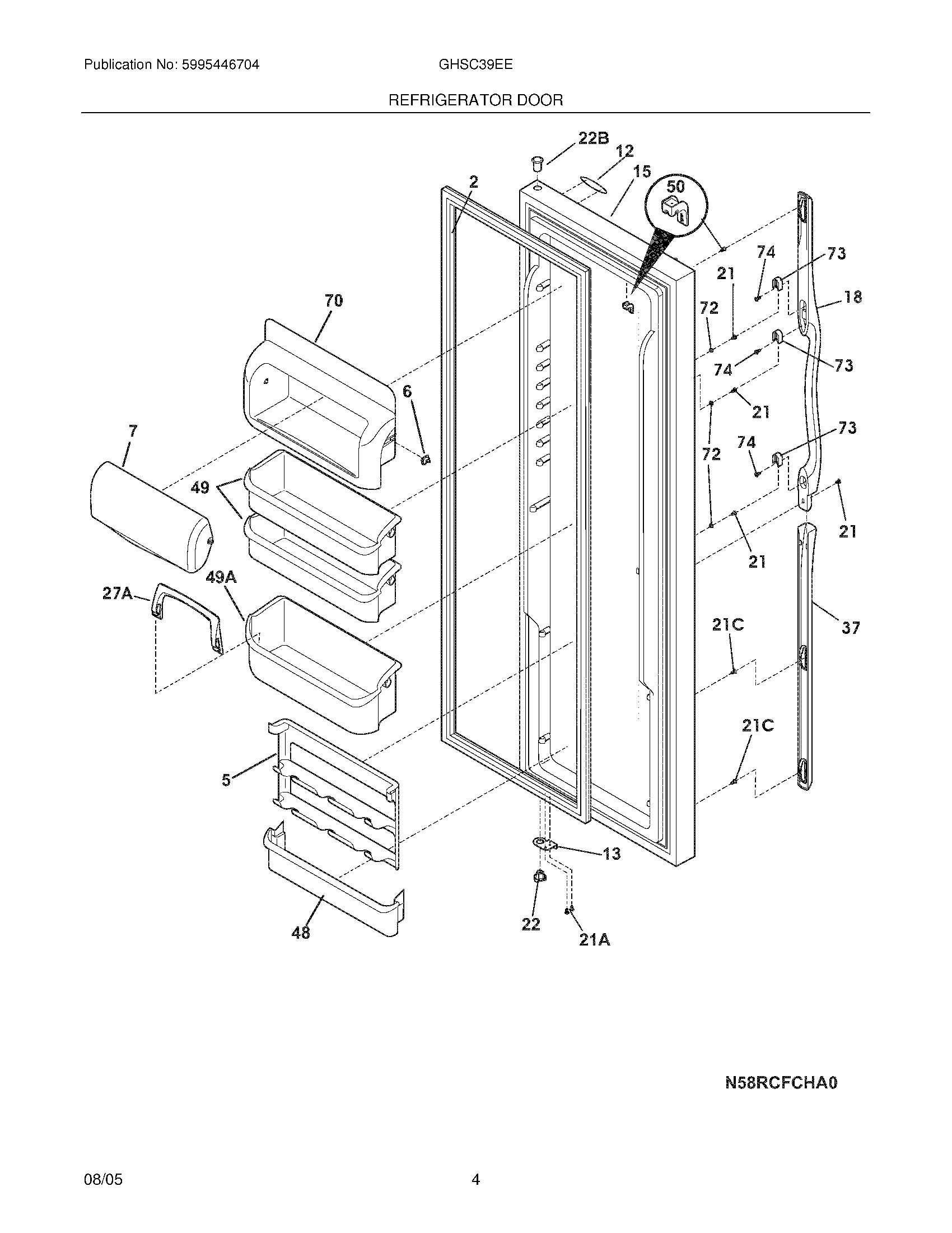
GHSC39EEPB3 05 – REFRIGERATOR DOOR