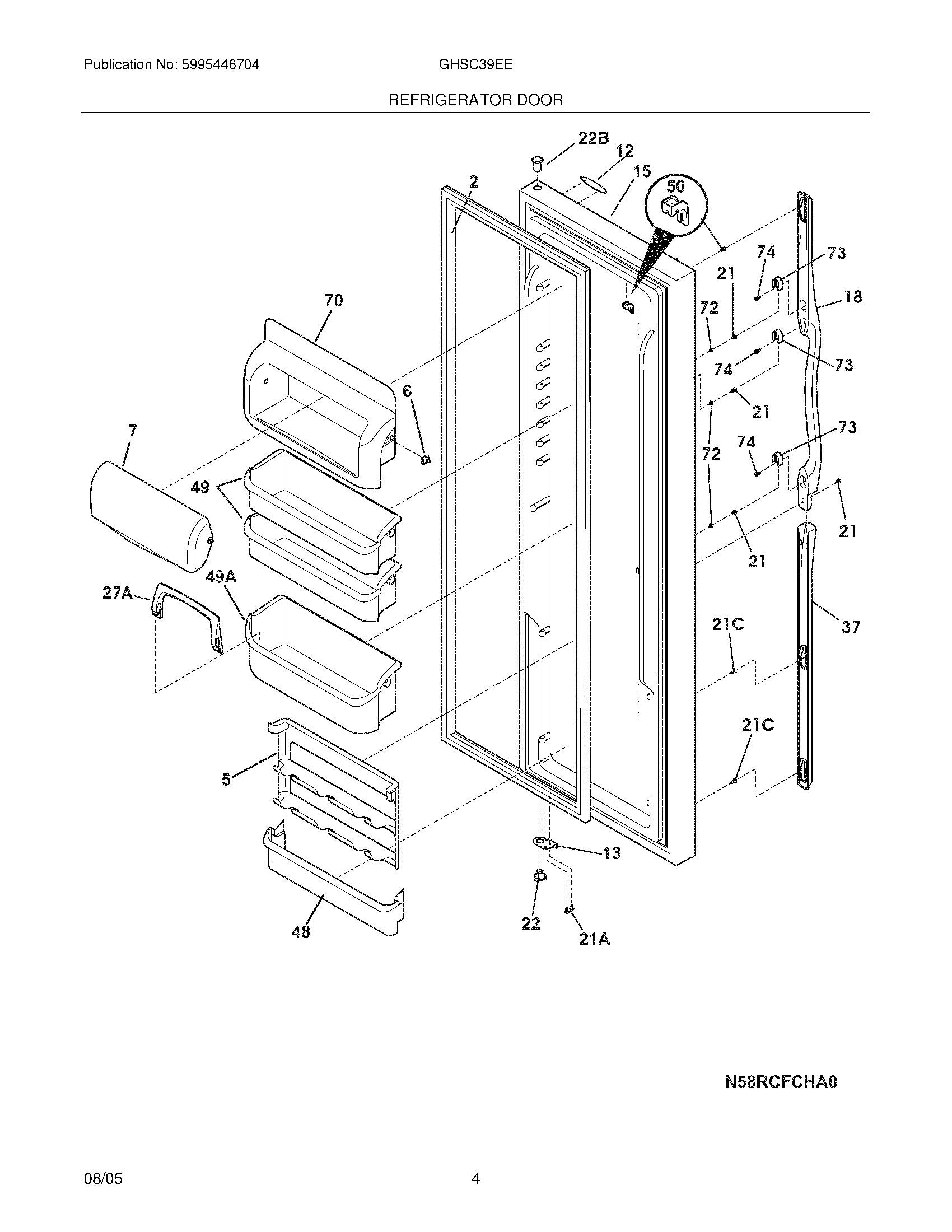
GHSC39EEPW3 05 – REFRIGERATOR DOORadmin2025-04-26T09:30:45+00:00GHSC39EEPW3 05 – REFRIGERATOR DOOR ProductsPositionProduct2241510201 Frigidaire Refrigerator Door Gasket OS25WCI 2415161026241515901 Frigidaire Refrigerator Dairy Compartment Lug7241515606 Frigidaire Refrigerator Door-Dairy12WCI 240449708135303918455 Frigidaire Refrigerator Adjustable Hinge Kit15WCI 24153450418Handle-door21218781101 Frigidaire Handle Screw21A5304455650 Frigidaire Refrigerator Screw21CWCI 24052130222240328201 Frigidaire Refrigerator Hinge Bearing22BBearing-hinge,upper27A240396102 Frigidaire Refrigerator Retainer37WCI 24035920148241511701 Frigidaire Refrigerator Door Bin49A241505506 Frigidaire Refrigerator Door Bin49241505301 Frigidaire Refrigerator Shelf Bin-Door (2 Liter)50WCI 24150840170241515801 Frigidaire Refrigerator Compartment72WCI 24042170173218396700 Frigidaire Door Handle Mounting Block74215503203 Frigidaire Refrigerator Door Handle Screw