GI1500XHB2 04 – CONTROL PANELadmin2025-04-26T11:36:47+00:00GI1500XHB2 04 – CONTROL PANEL
Products
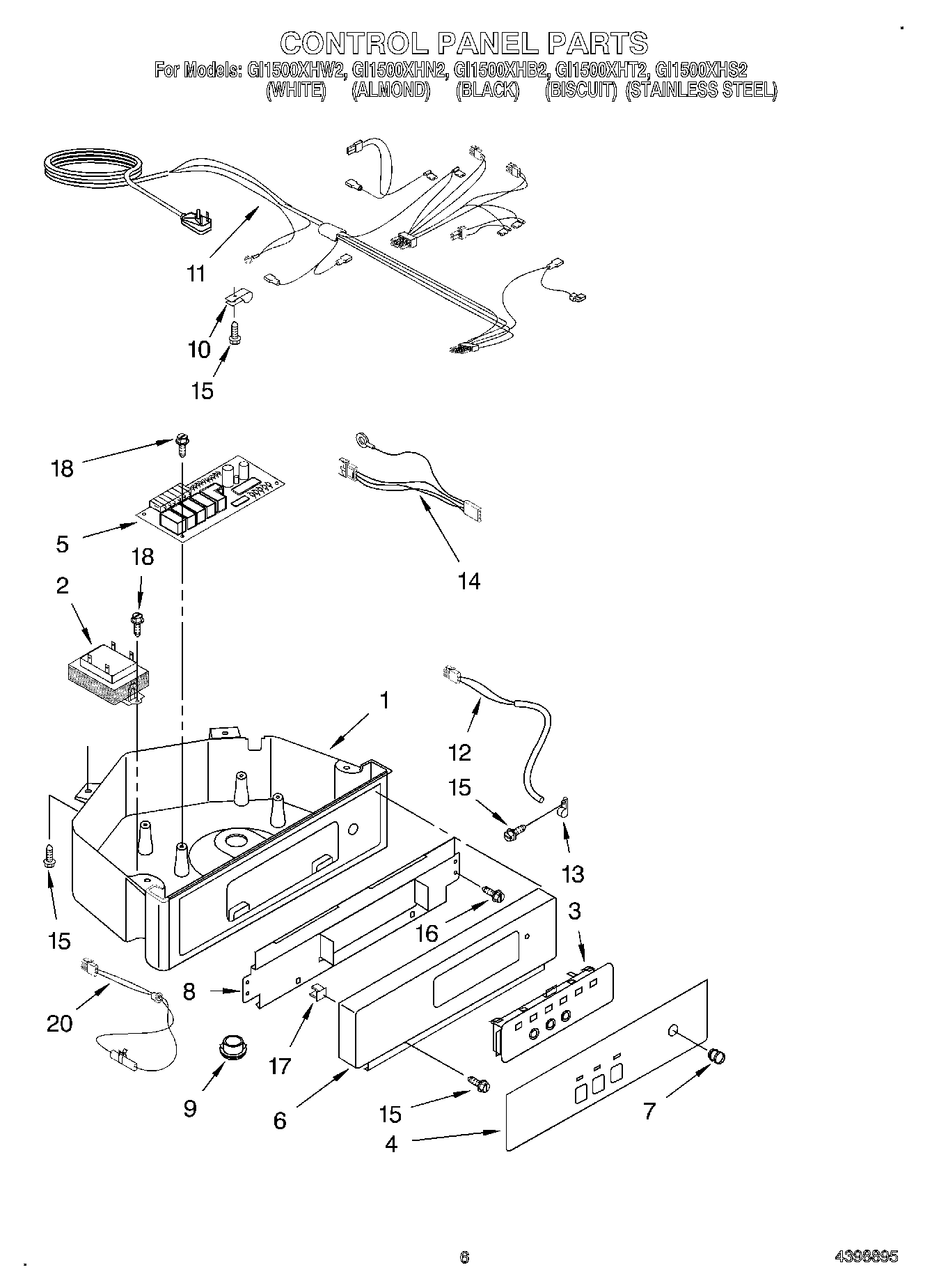
| Position | Product |
|---|
| 1 | Box, Control |
| 2 | Transformer |
| 3 | Assembly, Switch (ALSO ORDER 4) |
| 4 | Overlay (Almond) |
| 4 | Overlay (Biscuit) |
| 4 | Overlay (Black) |
| 4 | Overlay (White) |
| 5 | P.C. Board |
| 6 | Touch Pad, Escutcheon (Black) |
| 6 | Touch Pad, Escutcheon (Almond) |
| 6 | Touch Pad, Escutcheon (White) |
| 6 | Touch Pad, Escutcheon (Biscuit) |
| 7 | Lens, LED |
| 8 | Mounting Bracket, Escutcheon |
| 9 | Plug, Dome |
| 10 | W11456069 Whirlpool Refrigerator Clamp |
| 11 | Wiring Harness, Complete Unit (Includes Power Cord) |
| 12 | WPW10503764 Whirlpool Refrigerator Thermistor |
| 13 | 2185825 Whirlpool Refrigerator Clamp |
| 14 | Wiring Harness, Main to Pump, |
| 15 | WP3400884 Whirlpool Refrigerator Screw |
| 16 | WP999367 Whirlpool Refrigerator Screw |
| 17 | WP3400909 Whirlpool Refrigerator Nut |
| 18 | WP489443 Whirlpool Refrigerator Screw |
| 20 | Thermister, Ice Control |