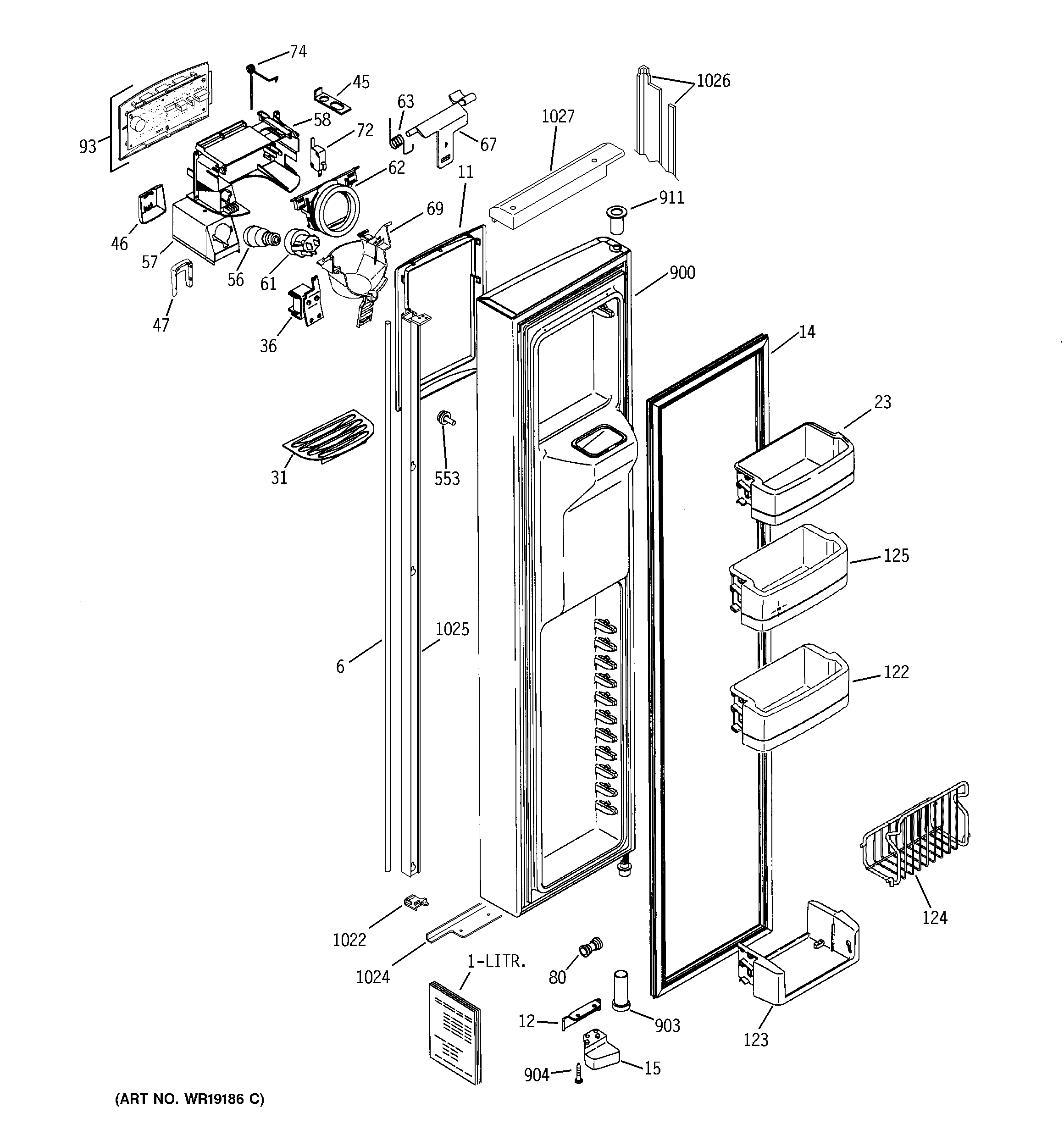
GIG21IEMFFBB FREEZER DOOR