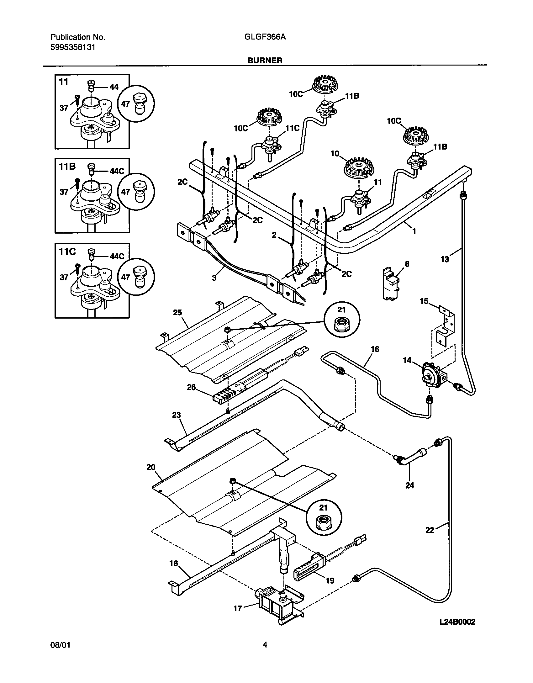
GLGF366ASB 05 – BURNER