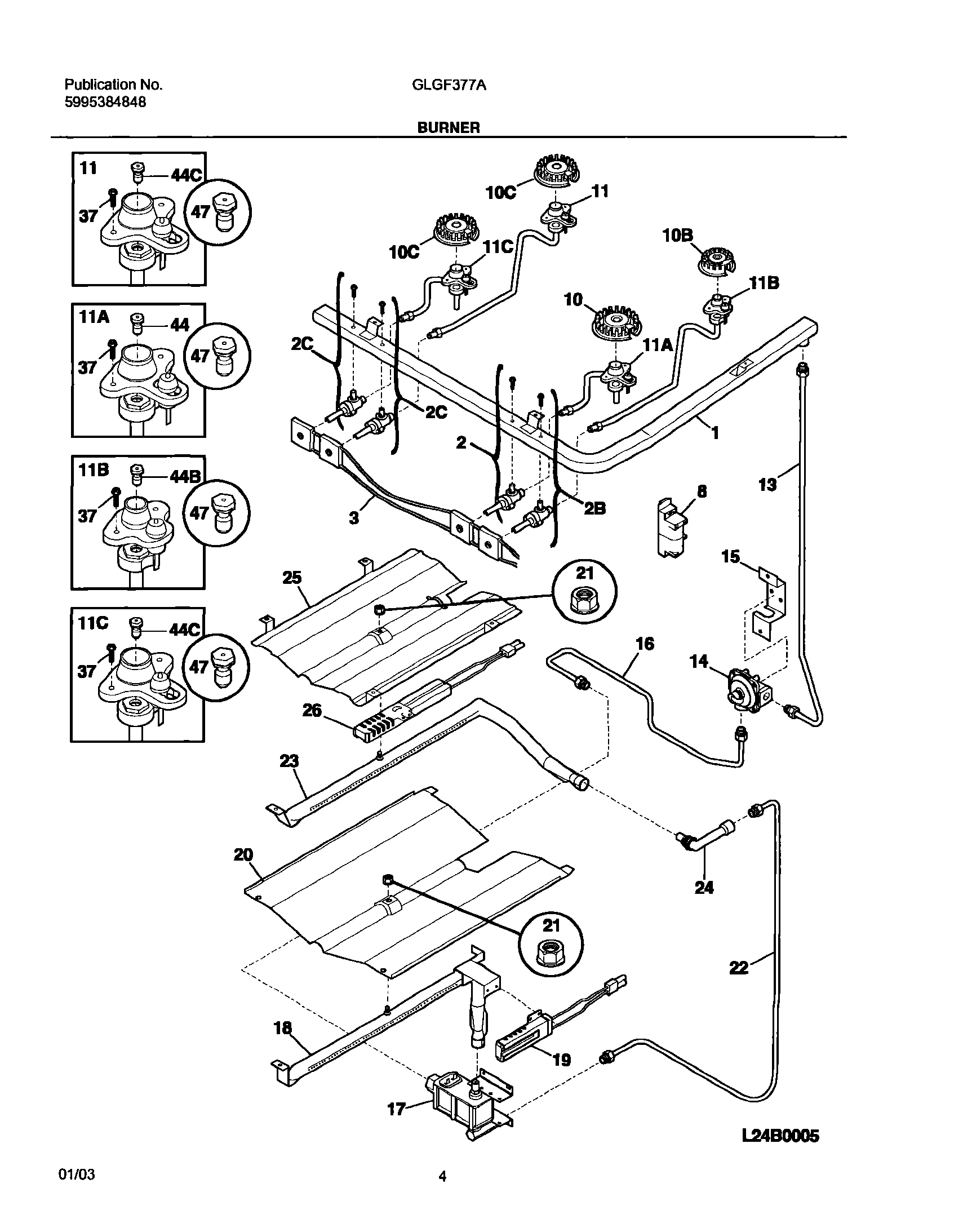
GLGF377ABG 05 – BURNER