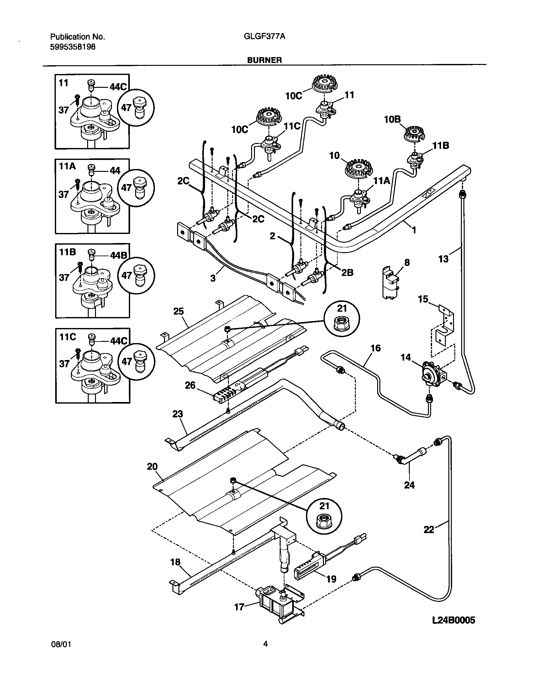
GLGF377AQC 05 – BURNER