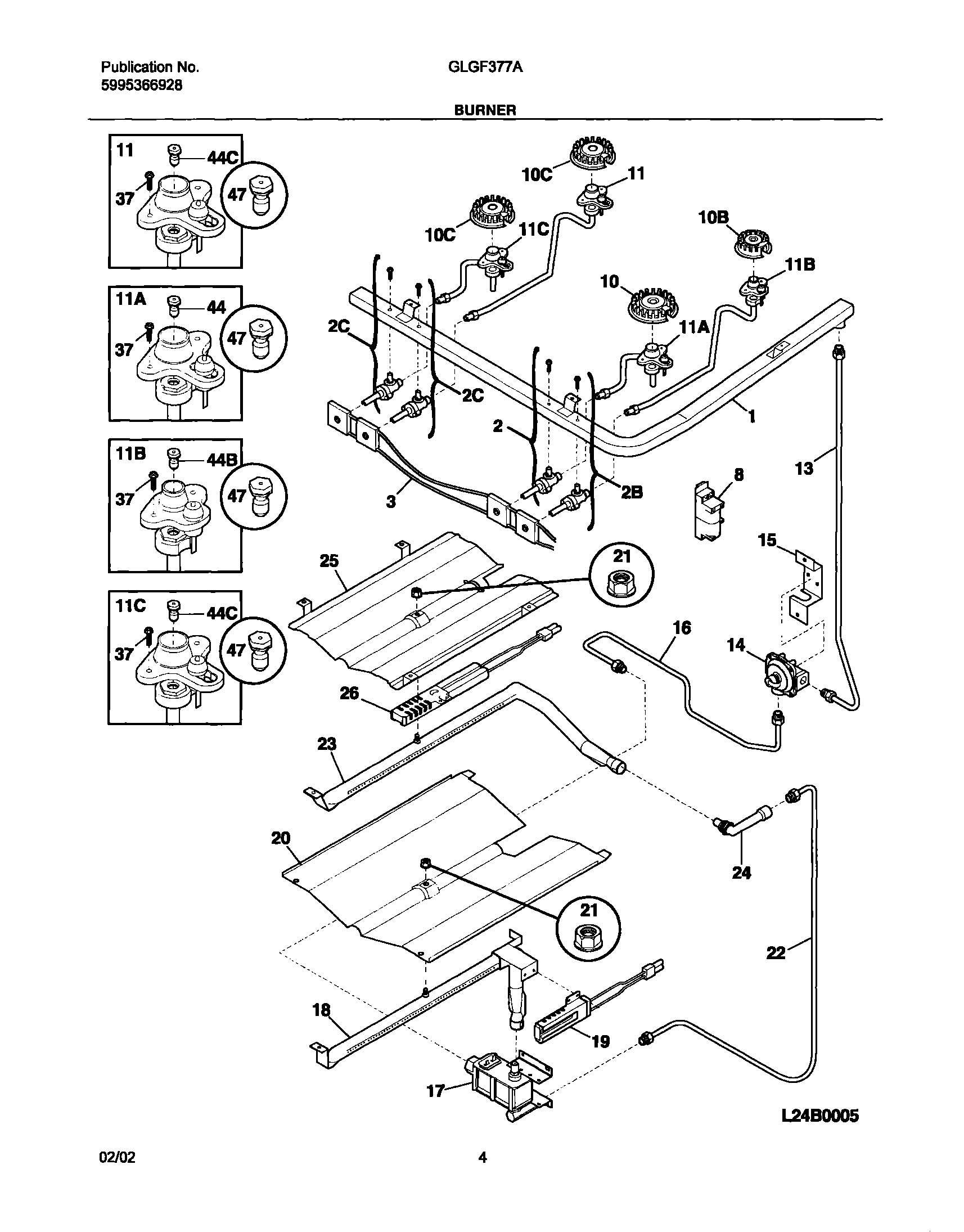
GLGF377AQE 05 – BURNER