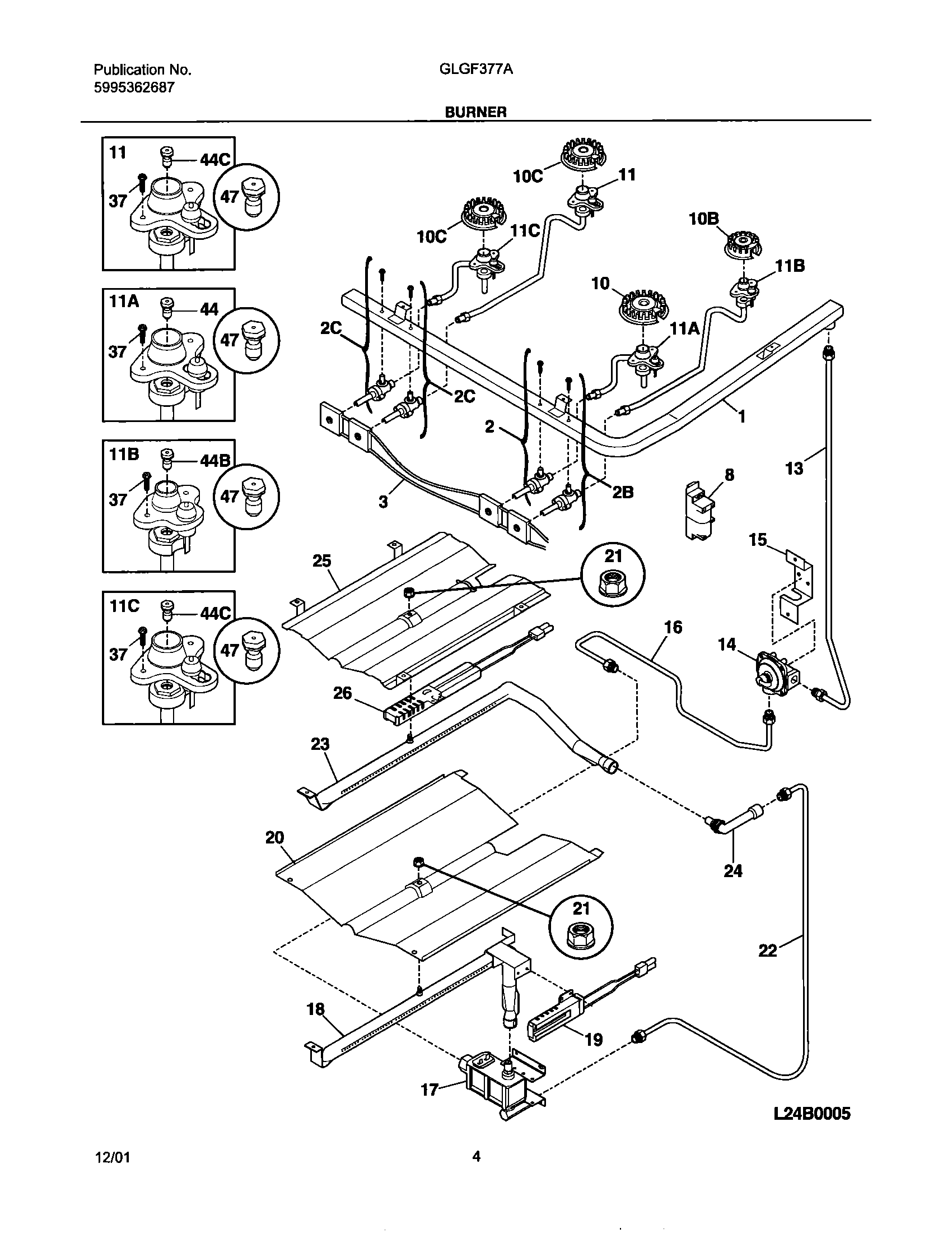
GLGF377ASD 05 – BURNER