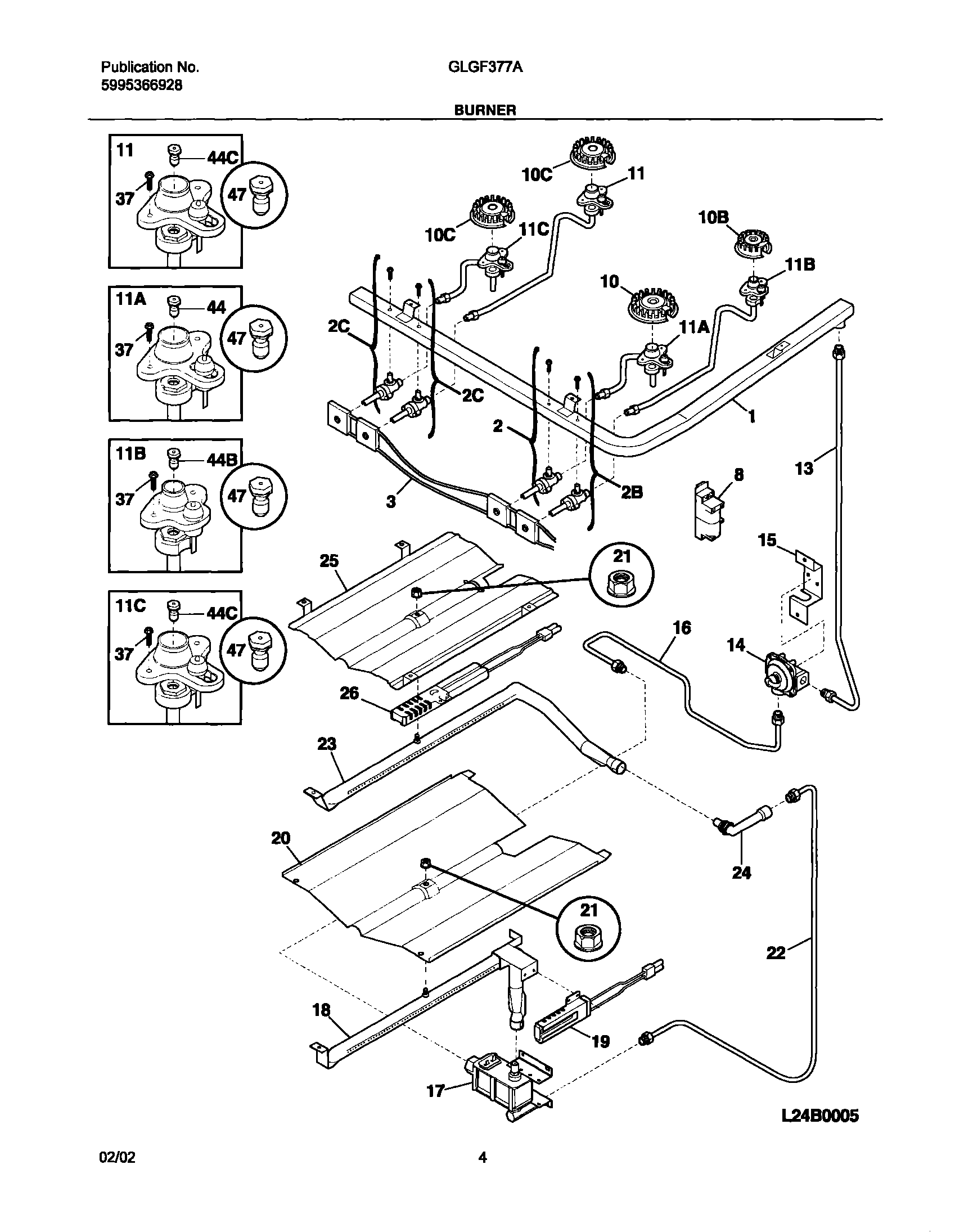
GLGF377ASE 05 – BURNER