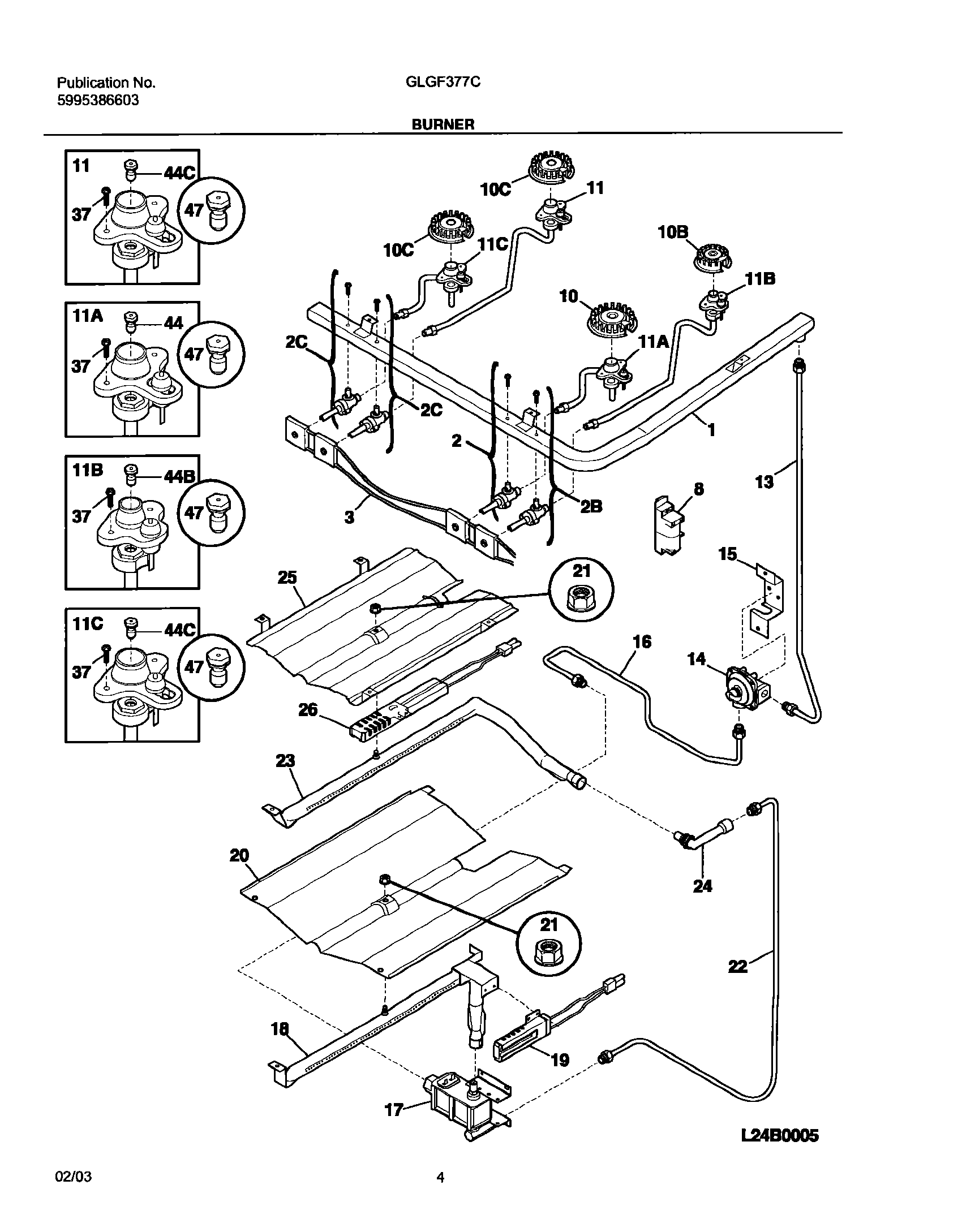
GLGF377CBA 05 – BURNER