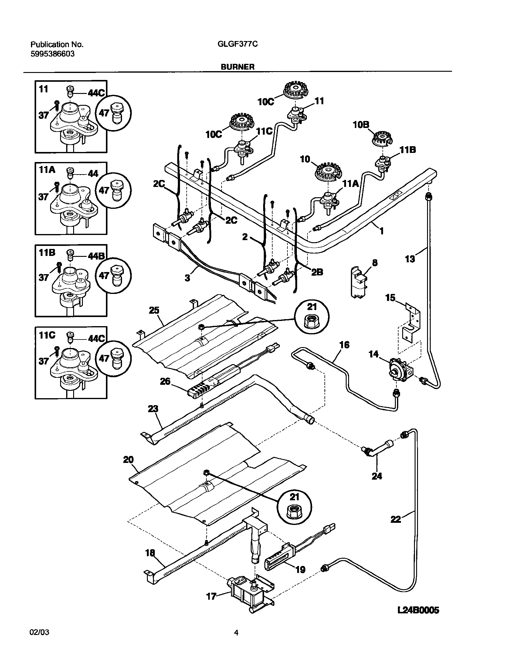
GLGF377CQA 05 – BURNER