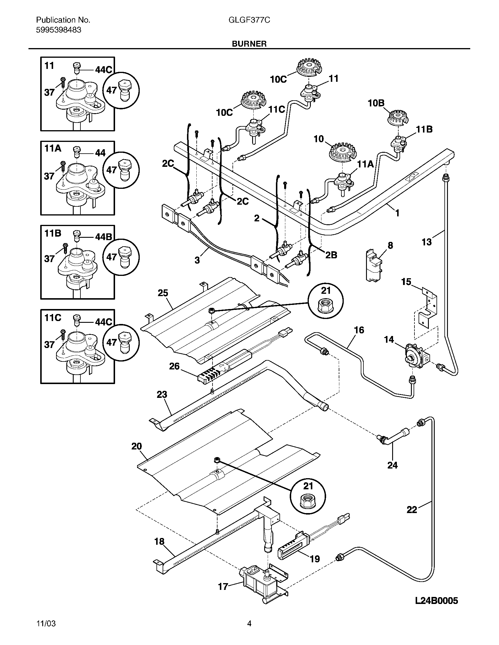
GLGF377CQB 05 – BURNER