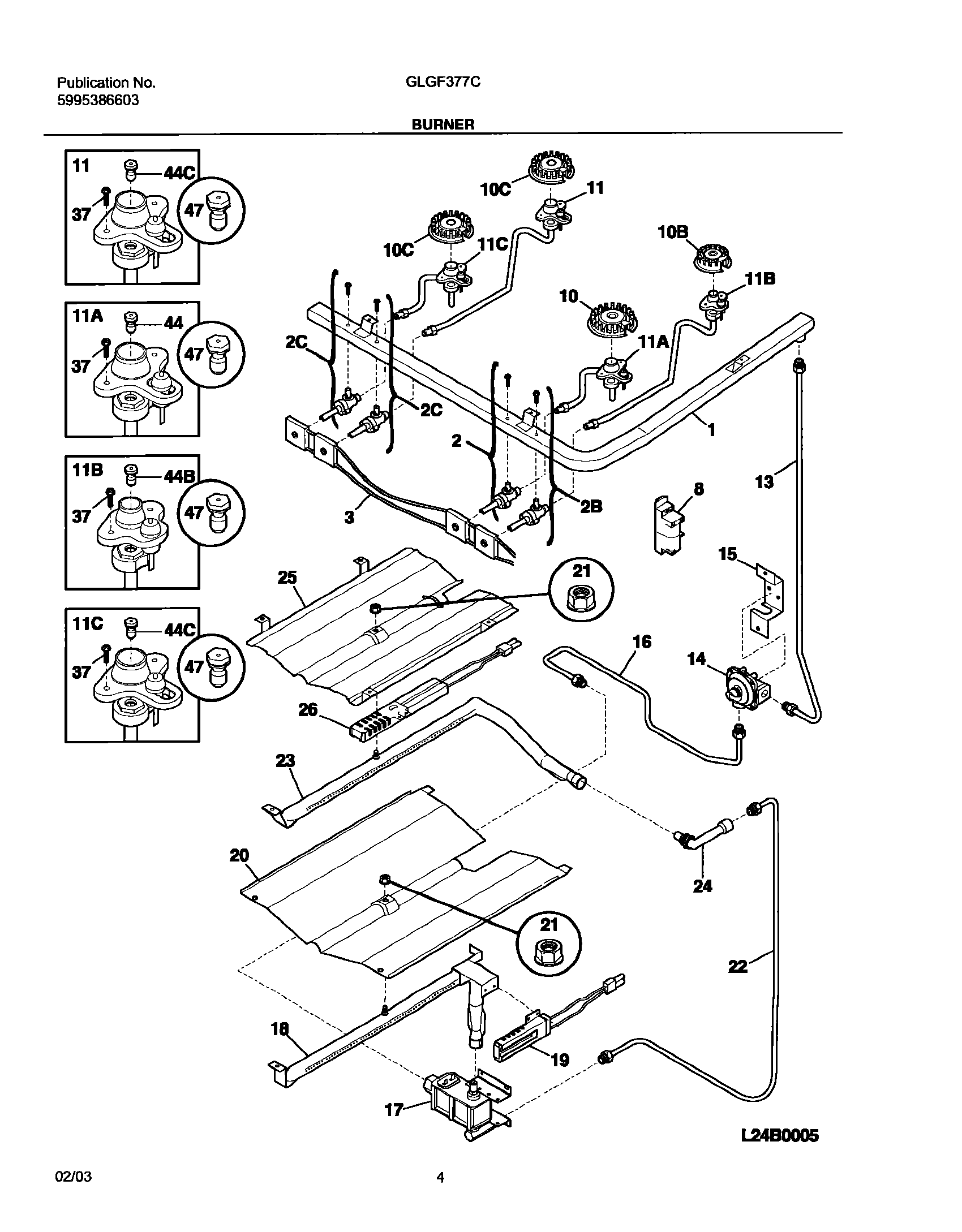
GLGF377CSA 05 – BURNER