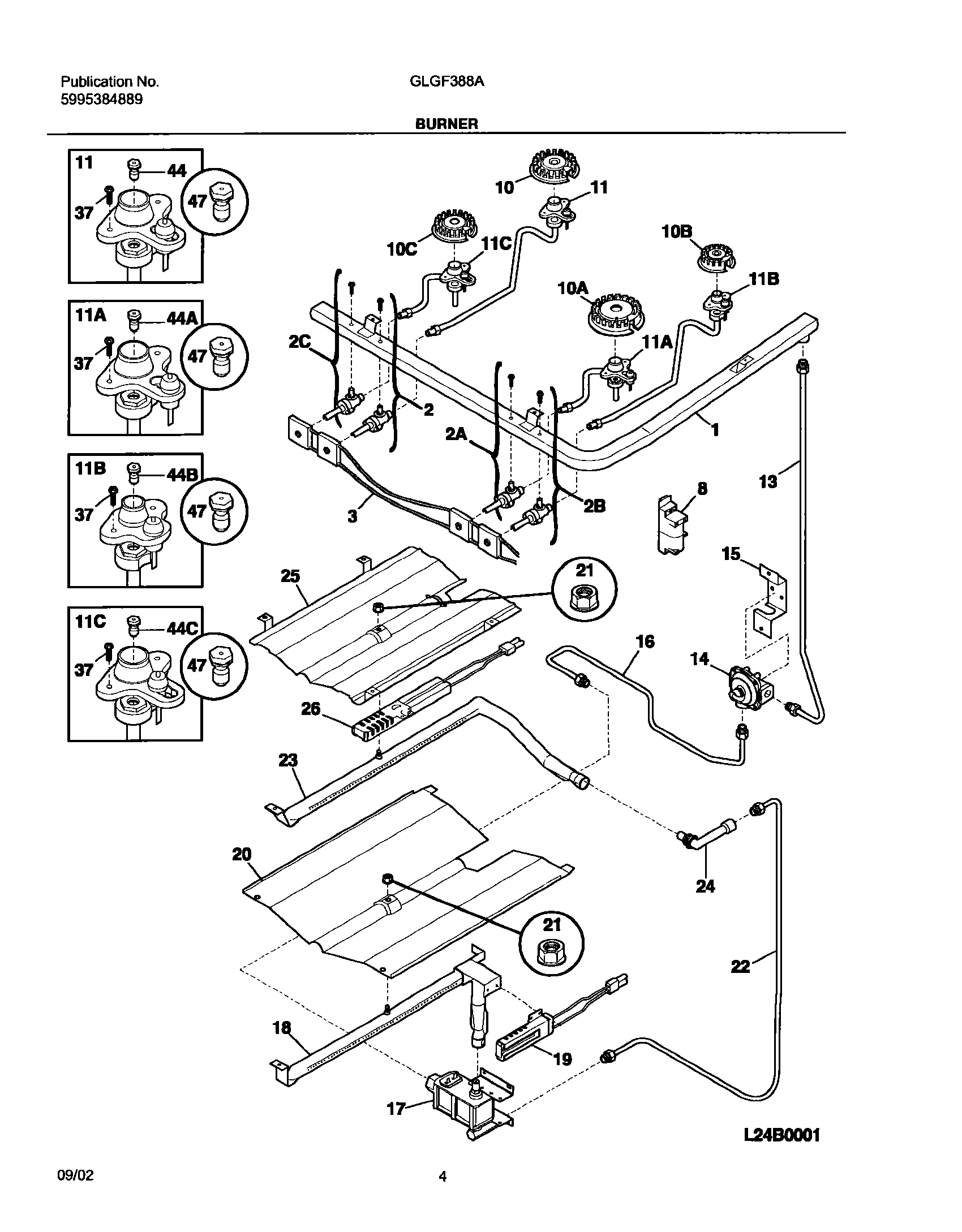
GLGF388AQE 05 – BURNER