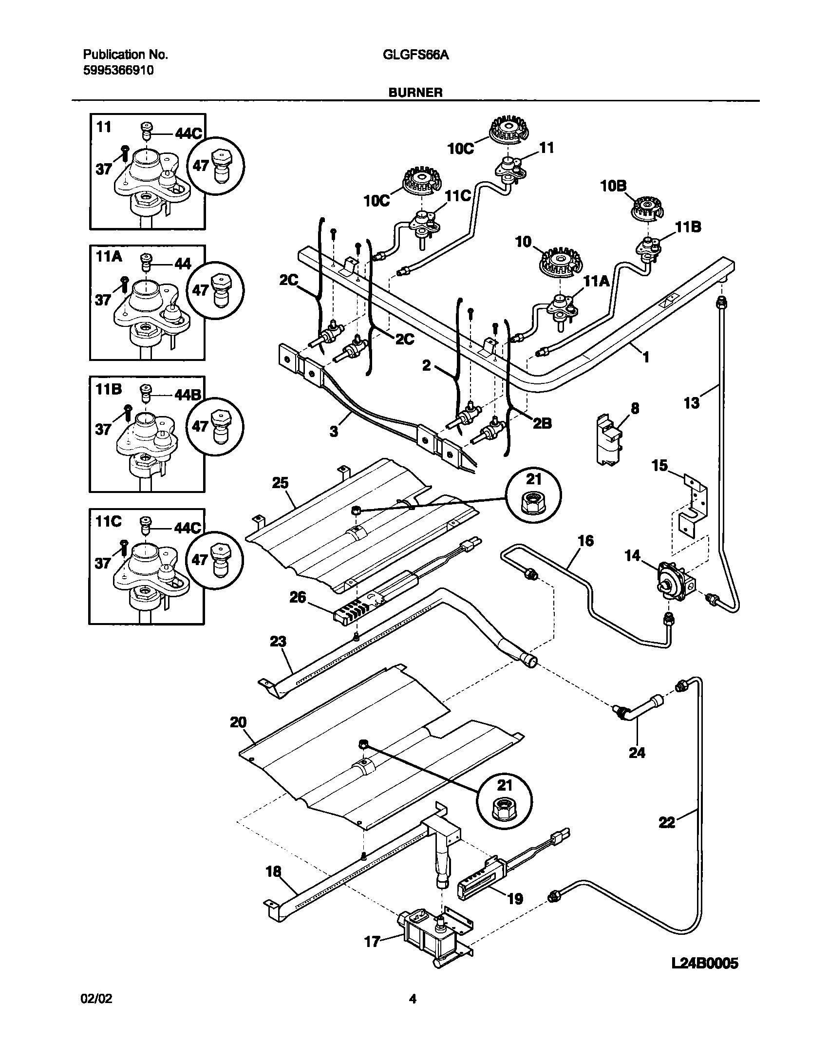
GLGFS66ABC 05 – BURNER