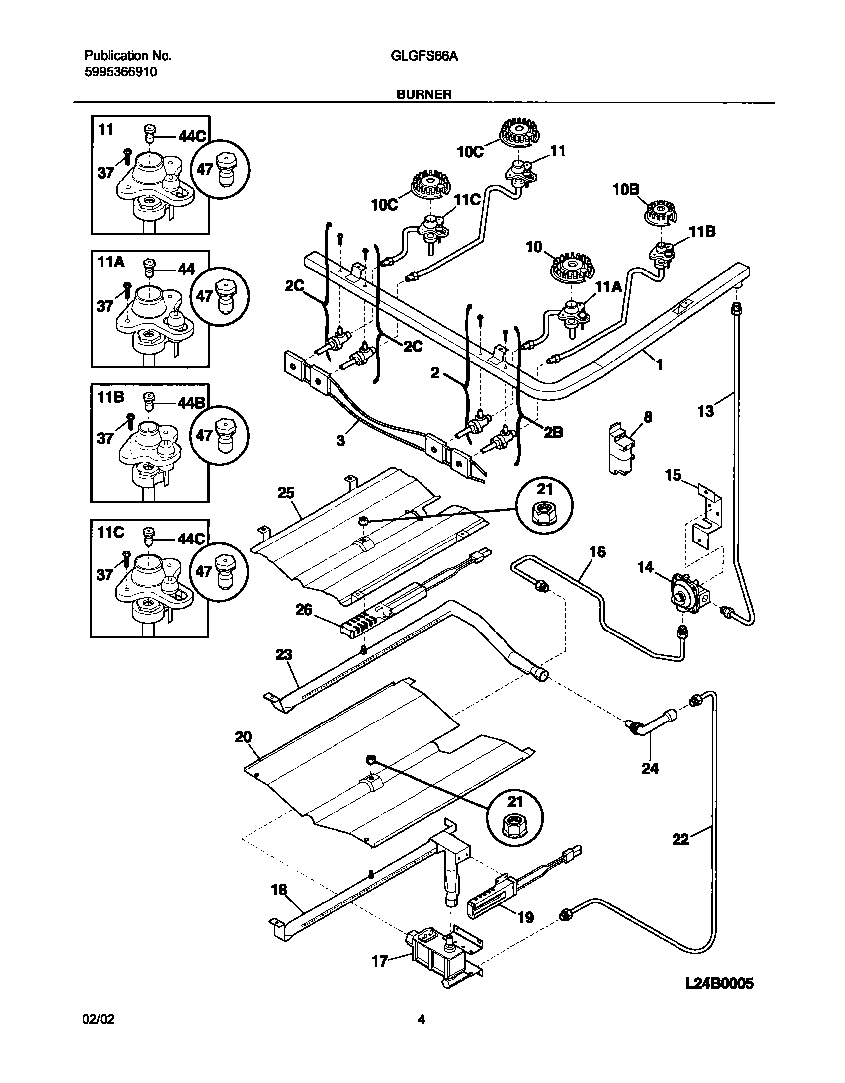
GLGFS66AQC 05 – BURNER